EasyManua.ls Logo

Mitsubishi LE-40MTB-E - Page 66

Mitsubishi LE-40MTB-E
80 pages
Print Icon
To Next Page IconTo Next Page
To Next Page IconTo Next Page
To Previous Page IconTo Previous Page
To Previous Page IconTo Previous Page
Loading...
62
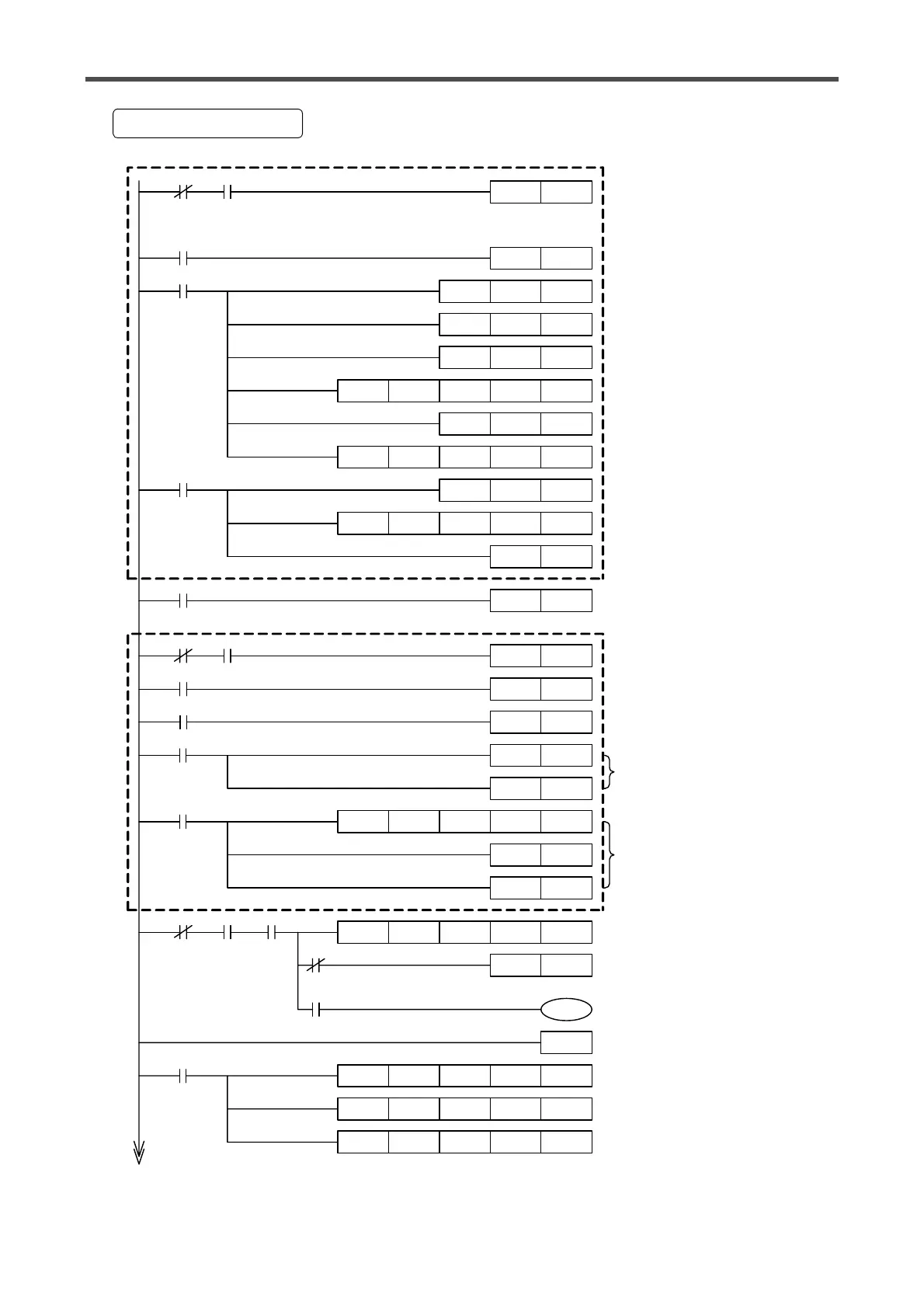
8. Example of program
M907X0021
P10
PLS M300
Unit error Unit ready
M300
SET M301
M301
K1 D0
MOV
MOV
K7 D1
MOV K1 D2
H1 D0 K3TO H0
MOV K0 D3
MOV H1301 D4
H6 D3 K1TO H0
RST M301
H20 D4 K1TO H0
M301
M9038
SET Y0
Initial pulse
X0FX0
PLS M302
SET M303
M302
SET Y6
RST Y6
RST M303
RST Y6
RST M303
H668 D100 K1FROM H0
M303
X6
X7
X0FX0 X1
H680 K1M401 K1FROM H0
CALL P10
Y3F
FEND
H0E0 K2M900 K1FROM H0
H160 K2M800 K1TO H0
H2E0 D200 K10FROM H0
M9036
M401
M401
Link normal (Station number 1)
CC-Link parameter setting
Number of connected device
Number of retries
Number of automatic return
Writing into buffer memory
Operation command when
CPU goes down (Stop)
Station data
Writing into buffer memory
Refresh indication
Data link by buffer memory
parameters
Data link start command by
burrer memory parameters
When data link start by buffer
memory parameters is normally
completed
When data link start by buffer
memory parameters is completed
with an error
Reading data link status at
the remote device station
Station number 1 normal
Station number 1 error
Reading contact device
Writing contact cevice
Reading data device
Start normally completed
Start conmlpeted
with an error
Unit
error
Unit
ready
Data
link
status
Writing into buffer memory
Link error (Station number 1)
Always ON

Table of Contents

Related product manuals