EasyManua.ls Logo

MSA altair 4x - Calibration Procedures

MSA altair 4x
72 pages
Print Icon
To Next Page IconTo Next Page
To Next Page IconTo Next Page
To Previous Page IconTo Previous Page
To Previous Page IconTo Previous Page
Loading...
MSA
Appendix
ALTAIR 4X
68
GB
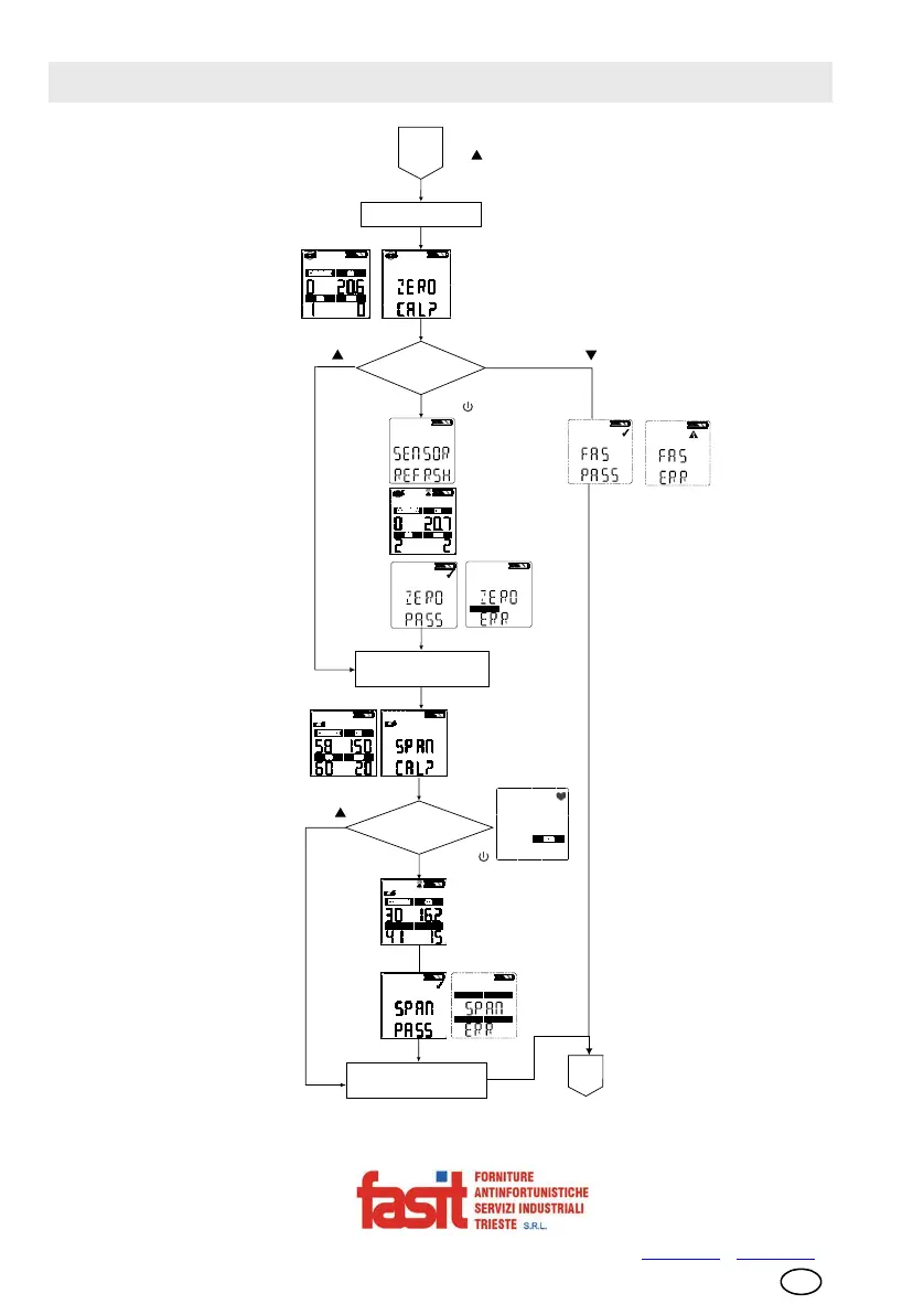
8.5 Calibrations
ZERO CAL
Perform
ZERO CAL?
SPAN CAL
Perform
SPAN CAL?
CAL COMPLETE
Return to
Normal Operation
Press
Press
Press
Press
From Measure Page when
is held for 3 seconds
CO
COMB/EX
O2
H2S
CO
Press
YES
NO
FASIT Srl - Via Orsera 13/b - 34145 TRIESTE - ITALY - Tel +39 040 825604 - www.fasit.it
- info@fasit.it

Other manuals for MSA altair 4x

Related product manuals