EasyManua.ls Logo

NARDA PMM 9010F - 12.11 Installing the PMM 9010-RMA

Default Icon
284 pages
Print Icon
To Next Page IconTo Next Page
To Next Page IconTo Next Page
To Previous Page IconTo Previous Page
To Previous Page IconTo Previous Page
Loading...
12-6 PMM 9010-RMA Rack Mount Adapter
12.11 Installing the
PMM 9010-RMA
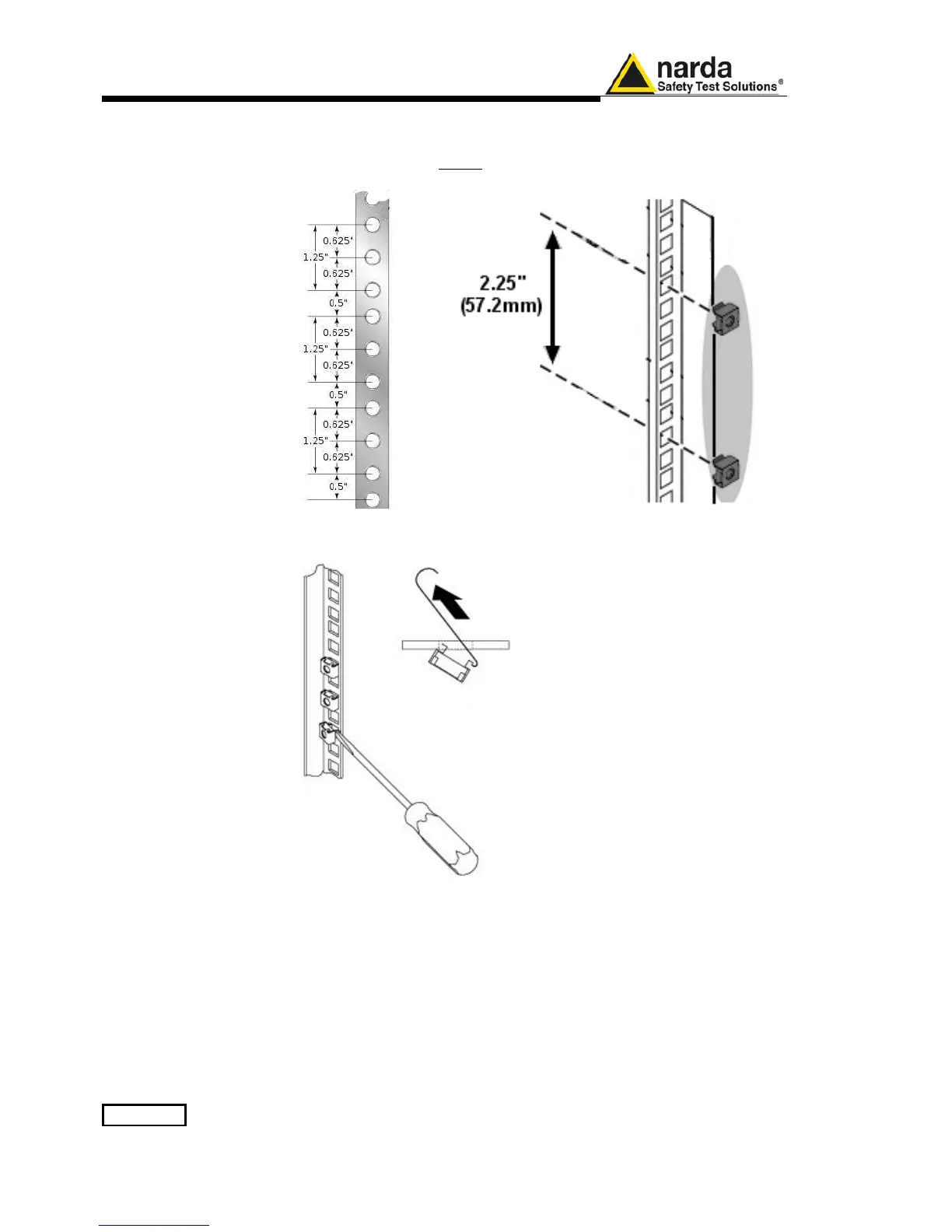
This section describes how to install the PMM 9010-RMA Rack Mount Adapter:
- Insert the cage nuts behind the vertical rails with respect to the Rack Unit
Boundary and the distance show below:
- Y
ou can use a rack-insertion tool or a flat-blade screwdriver to install the cage
nuts.
- Insert the chassis into the rack.
- Slide the chassis into the rack until the front flange is flat against the cage
nuts.
- Using the four screws and black plastic washers, fix the chassis by its
flanges to the rack.

Table of Contents

Related product manuals