EasyManua.ls Logo

Navman Tracker 5607 - 16-7 Installation: NAVMAN diesel sensors; 16-8 Installation: SmartCraft

Navman Tracker 5607
79 pages
Print Icon
To Next Page IconTo Next Page
To Next Page IconTo Next Page
To Previous Page IconTo Previous Page
To Previous Page IconTo Previous Page
Loading...
NAVMAN TRACKER 5507/5607 Installation and Operation Manual
68
For information on installing, setting up and
using SmartCraft™, see the SmartCraft™ Gateways
Installation and Operation Manual.
16-7 Installation: NAVMAN diesel sensors
Fit the optional diesel fuel kit following the
instructions supplied with the kit.
Note:
Fit one kit per engine, up to two engines. Wire
all diesel flow sensor cables in parallel.
SmartCraft™ engines have fuel flow sensors,
therefore NAVMAN diesel sensors are not
required as well.
Normally, power the diesel sensors from the
boat ignition switch. Then the 5507/5607 does
not need to be wired for auto power (see
section 15-4).
The 5507/5607 can be connected to up to two
SmartCraft™ capable Mercury petrol/gasoline
engines. The 5507/5607 can display engine data
and trim and can control troll speed.
Note:
Connect the 5507/5607 to the SmartCraft™
engines with a NAVMAN SmartCraft™
gateway:
i For single engine fit a single gateway
ii For dual engines fit a dual gateway
SmartCraft™ engines have fuel flow sensors,
therefore NAVMAN fuel sensors are not
required as well.
Wire the unit for auto power (see section
16-4).
During setup
a Enter fuel setup data (see section 15-4)
b Set NavBus and SmartCraft™ to
(see section
15-1)
c Enter SmartCraft™ setup data (see the
SmartCraft™ Gateways Installation and
Operation Manual)
16-8 Installation: SmartCraft™
During setup
a Enter fuel setup data (see section 15-4)
b Set NavBus to
(see section 15-1 setup
system)
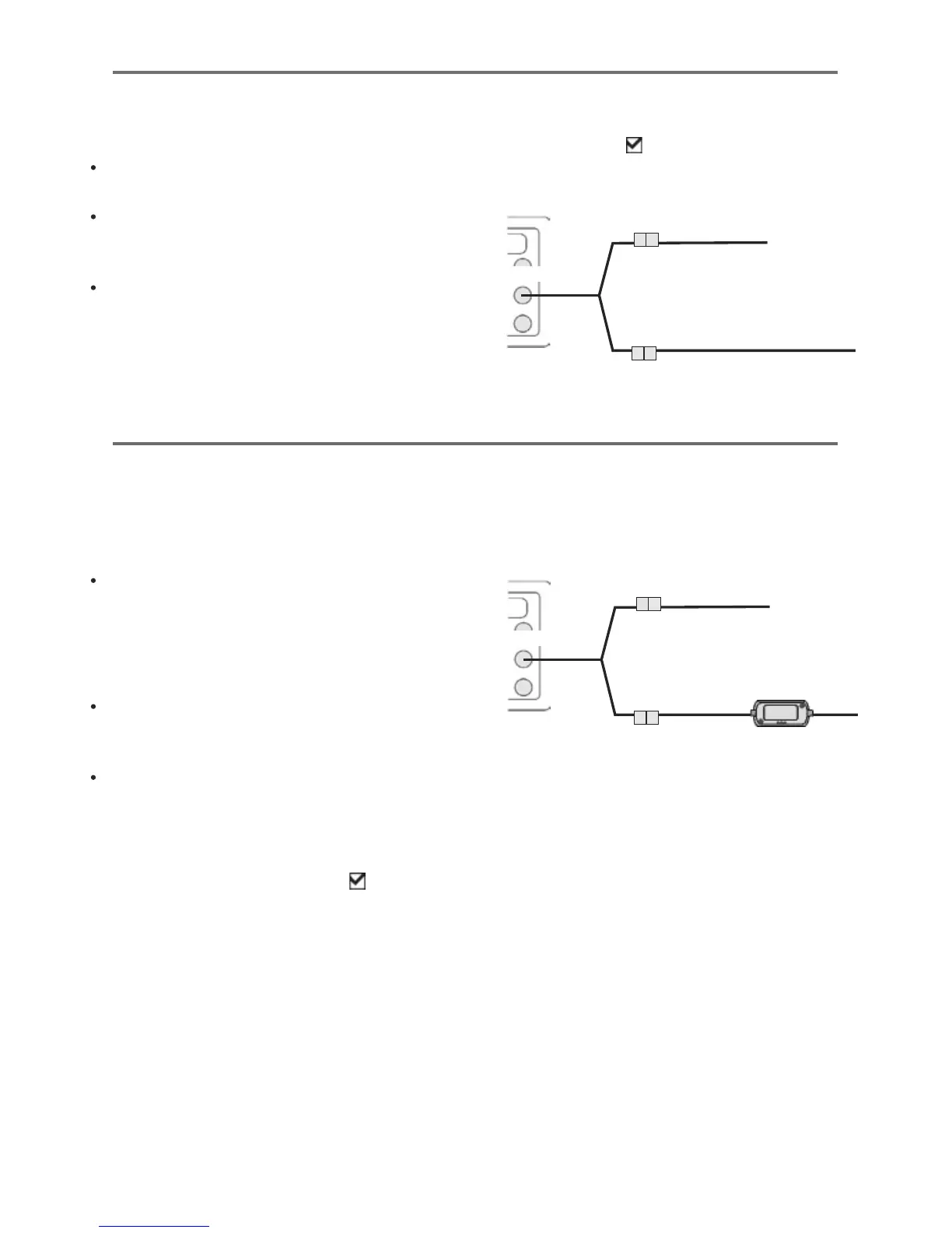
Yellow
GPS antenna (optional)
Diesel sensor cable
Yellow
GPS/fuel AIS cable
White
Yellow
GPS antenna (optional)
SmartCraft™ Gateway
Yellow
GPS/fuel AIS cable
White

Table of Contents

Related product manuals