EasyManua.ls Logo

Oki MPS9650c - Page 103

Oki MPS9650c
246 pages
Print Icon
To Next Page IconTo Next Page
To Next Page IconTo Next Page
To Previous Page IconTo Previous Page
To Previous Page IconTo Previous Page
Loading...
Oki Data CONFIDENTIAL
43627911TH Rev. 3
103 /
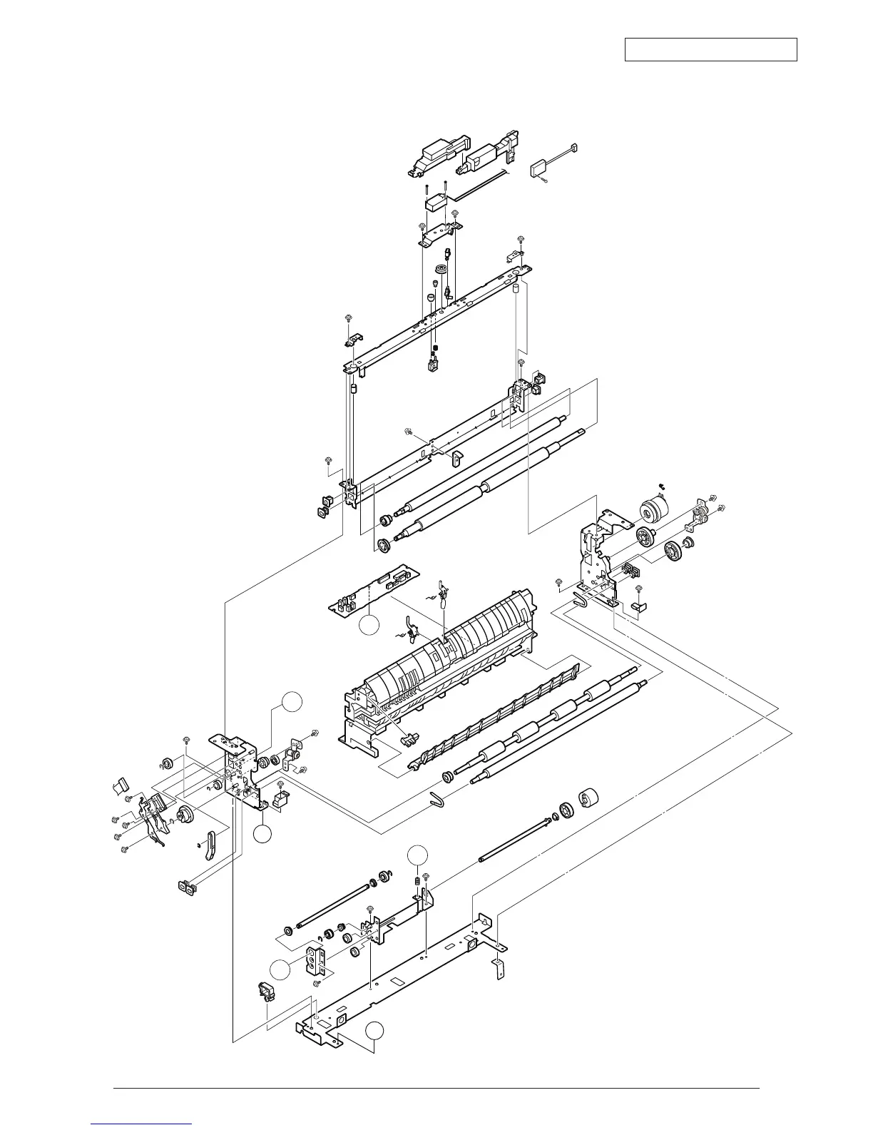
FDR-Unit-Regist
A
A
C
C
B
B

Table of Contents

Other manuals for Oki MPS9650c

Related product manuals