EasyManua.ls Logo

Olympus STM7 - Stage; Moving the Specimen

Olympus STM7
104 pages
Print Icon
To Next Page IconTo Next Page
To Next Page IconTo Next Page
To Previous Page IconTo Previous Page
To Previous Page IconTo Previous Page
Loading...
36
3-7 Stage
1
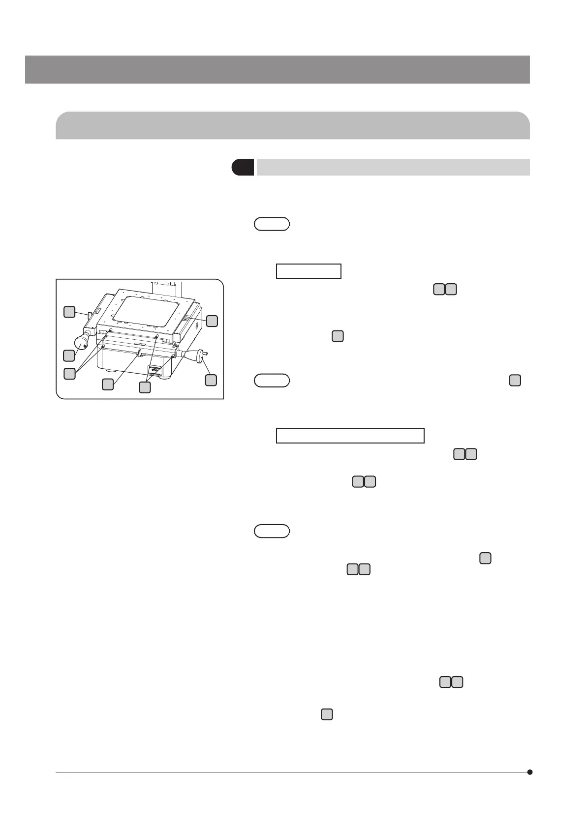
Moving the specimen
} The specimen can be moved with the X-, Y-axis knob or freely
according to the position of the clutch levers.
When observing a light specimen, perform the clutch
operation especially carefully to avoid deviation of the
specimen position. It is recommended securing the
specimen.
Free Movement
If you tilt the X-axis and Y-axis clutch levers
a b
either to the right or
left direction, the clutches are released and the stage can be moved
freely. .
Hold the knob
c
to move the stage.
In case of STM7-CS50, the Y-axis knob is on the left side of the
stage.
· Do not hold the right side area where a caution label
d
is
attached.
· If the frame is not centered, the stage may move
spontaneously. In this case, center the frame.
Movement Using X- and Y-axis Knobs
Rotating up the X-axis and Y-axis clutch levers
a b
for a half turn
slowly will fix the clutches. And the stage can be moved by using the
X- and Y-axis knobs
e f
.
} If a clutch cannot be engaged, try engaging the clutch again or turn
the feed knob slightly and retry.
· Do not operate the clutch levers while the stage is moving.
Otherwise, accuracy degradation or damage may result.
· Do not touch any part except the stage knob
c
, X-axis or
Y-axis knob
e f
.
· After use, return the stage to the center position and lock
the clutch to maintain the stage accuracy. And do not place
a heavy object on the stage.
· An extremely flat or highly polished specimen may adhere
to the stage glass, and forcibly pulling up such a specimen
may cause the stage glass to detach. To prevent this,
remove the adhered specimen by sliding it laterally.
· If the stage is moved finely or reciprocated repeatedly by
operating the X-axis and Y-axis knobs
e f
, the slippage may
be caused on the stage guide and the stage may not move.
If the stage does not move, release the clutch and hold the
knob
c
to move the stage.
CAUTION
CAUTION
CAUTION
a
e
b
f
d
c
c

Table of Contents

Related product manuals