EasyManua.ls Logo

Omron DEVICENET - Page 141

Omron DEVICENET
163 pages
Print Icon
To Next Page IconTo Next Page
To Next Page IconTo Next Page
To Previous Page IconTo Previous Page
To Previous Page IconTo Previous Page
Loading...
120
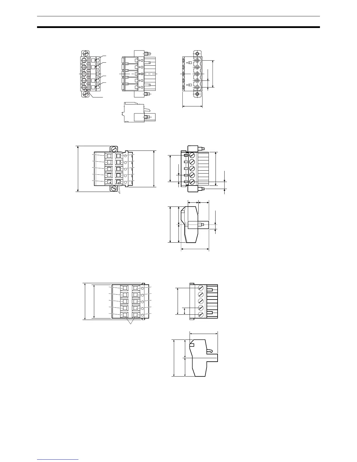
Dimensions of Connectable Devices Appendix B
XW4G-05C1-H1-D
XW4B-05C4-TF-D Straight Multi-drop Connector with Attachment Screws
XW4B-05C4-T-D Straight Multi-drop Connector without Attachment
Screws
15
5.08
20.32
Black
Blue
White
Red
Power supply
connection
All dimensions are in mm.
20.32
14.45
8.3
14.45
28.9
35.3
27.3
25.4
5.08
5.08
3.73
7.8
21.5
Black
Blue
Shield
White
Red
Black
Blue
Shield
White
Red
All dimensions are in mm.
Power supply
connection
25.4
20.32
5.08
14.45
21.5
27.4
14.45
28.9
Black
Blue
Shield
White
Red
Black
Blue
Shield
White
Red
All dimensions are in mm.
Power supply
connection

Table of Contents

Related product manuals