EasyManua.ls Logo

Omron NT31 - Page 90

Omron NT31
707 pages
Print Icon
To Next Page IconTo Next Page
To Next Page IconTo Next Page
To Previous Page IconTo Previous Page
To Previous Page IconTo Previous Page
Loading...
79
Connecting to the RS-232C Port at the Host
Section 4-1
CS1 series CPU type : CS1G/H–CPU
Connect to the builtin RS232C port of the CPU, or the RS232C port of the com-
munication board. Note that the connection to a peripheral port must be made via
an RS232C adapter (CS1WCN118) specially designed for connecting to a pe-
ripheral port.
S PC system settings
When connecting to a CS1 series CPU, set the following communication condi-
tions for the PC system setting area. Since the settings shown below are the PC
default settings for the CPU, no change to the PC system setting is necessary as
long as the communication speed is maintained at 9600 bps.
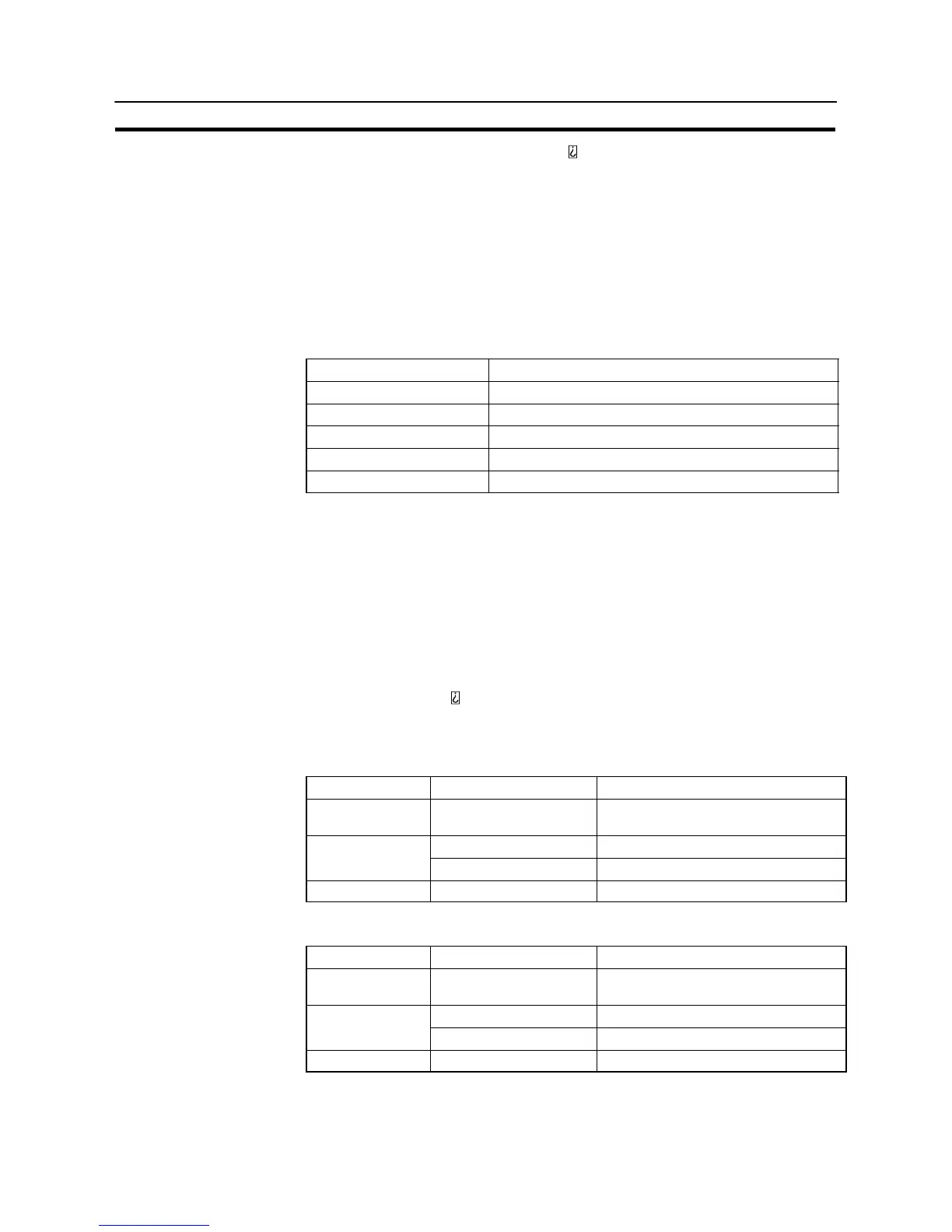
Item Setting at Host
Communication speed Set the same speed as set at the NT31/NT31C(*1)
Stop bits 2 stop bits
Parity Even
Data length ASCII 7 bits
Unit No. for the host link 00
*1: Set the host link communications speed at 9600 bps or 19200 bps with the
memory switch at the NT31/NT31C. For details, refer to Settings the Host Link
Method (page 176).
When the communication speed is set to 19200 bps., the PC system settings of
the CPU need to be changed.
Either set the PC system settings directly from a peripheral tool (programming
console), or transmit the PC system settings made at a peripheral tool (CXPro-
grammer) to the CPU.
For details on PC system settings, refer to the “SYSMAC CS1 Series Operation
Manual” (W339-E1-
When using the builtin RS232C port of CS1G/H
Word # Writing Value Settings
160 8000
Host link mode, data length 7 bits,
2 stop bits, even parity
0000 Communication speed: 9600 bps.
161
0007 Communication speed: 19200 bps.
163 0000 Unit #00
When using the peripheral port of CS1G/H
Word # Writing Value Settings
144 8000
Host link mode, data length 7 bits,
2 stop bits, even parity
0000 Communication speed: 9600 bps.
145
0007 Communication speed: 19200 bps.
147 0000 Unit #00

Table of Contents

Other manuals for Omron NT31

Related product manuals