EasyManua.ls Logo

Panasonic CU-MVG153KE - Installation Information; Attached Accessories; Select the Best Location

Panasonic CU-MVG153KE
87 pages
Print Icon
To Next Page IconTo Next Page
To Next Page IconTo Next Page
To Previous Page IconTo Previous Page
To Previous Page IconTo Previous Page
Loading...
11 Installation Information
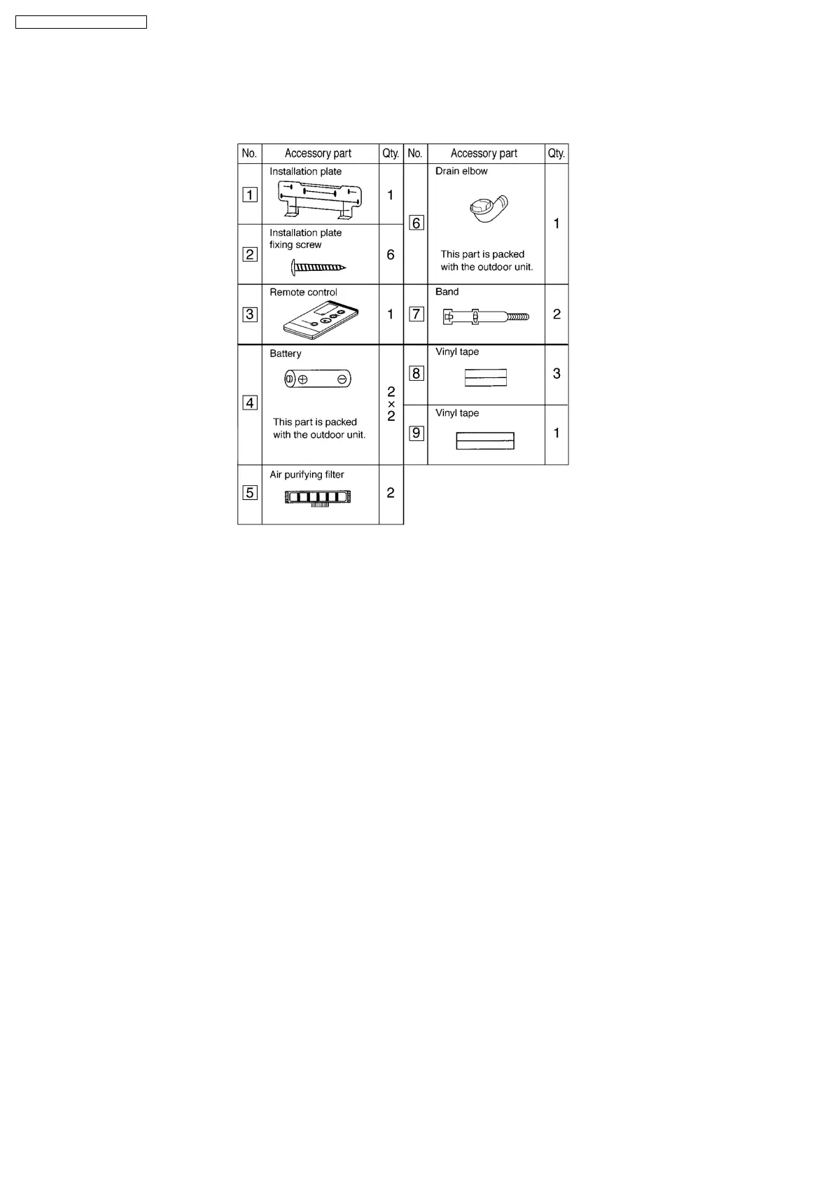
11.1. ATTACHED ACCESSORIES
11.2. SELECT THE BEST LOCATION
11.2.1. INDOOR UNIT
·
There should not be any heat source or steam near the unit.
·
There should not be any obstacles blocking the air circulation.
·
A place where air circulation in the room is good.
·
A place where drainage can be easily done.
·
A place where noise prevention is taken into consideration.
·
Do not install the unit near the door way.
·
Ensure the spaces indicated by arrows from the wall, ceiling, fence or other obstacles.
·
Indoor unit of this room air conditioner shall be installed on the wall in a height of at least 2.3m.
11.2.2. OUTDOOR UNIT
·
If an awning is built over the unit to prevent direct sunlight or rain, be careful that heat radiation from the condenser is not
obstructed.
·
Ensure that no animals or plants can be affected by the hot air discharged.
·
Keep the spaces indicated by arrows from wall, ceiling, fence or other obstacles.
·
Do not place any obstacles which may cause a short circuit of the discharged air.
·
If piping length is over the common length, additional refrigerant should be added as shown in the table.
52
CS-MVG103KE / CU-MVG153KE

Table of Contents

Related product manuals