EasyManua.ls Logo

Panasonic SA-PT850EE - Assembly and Disassembly of DVD Mechanism Unit

Panasonic SA-PT850EE
133 pages
Print Icon
To Next Page IconTo Next Page
To Next Page IconTo Next Page
To Previous Page IconTo Previous Page
To Previous Page IconTo Previous Page
Loading...
11 Assembly and
Disassembly of DVD
Mechanism Unit
11.1. Disassembly Procedure
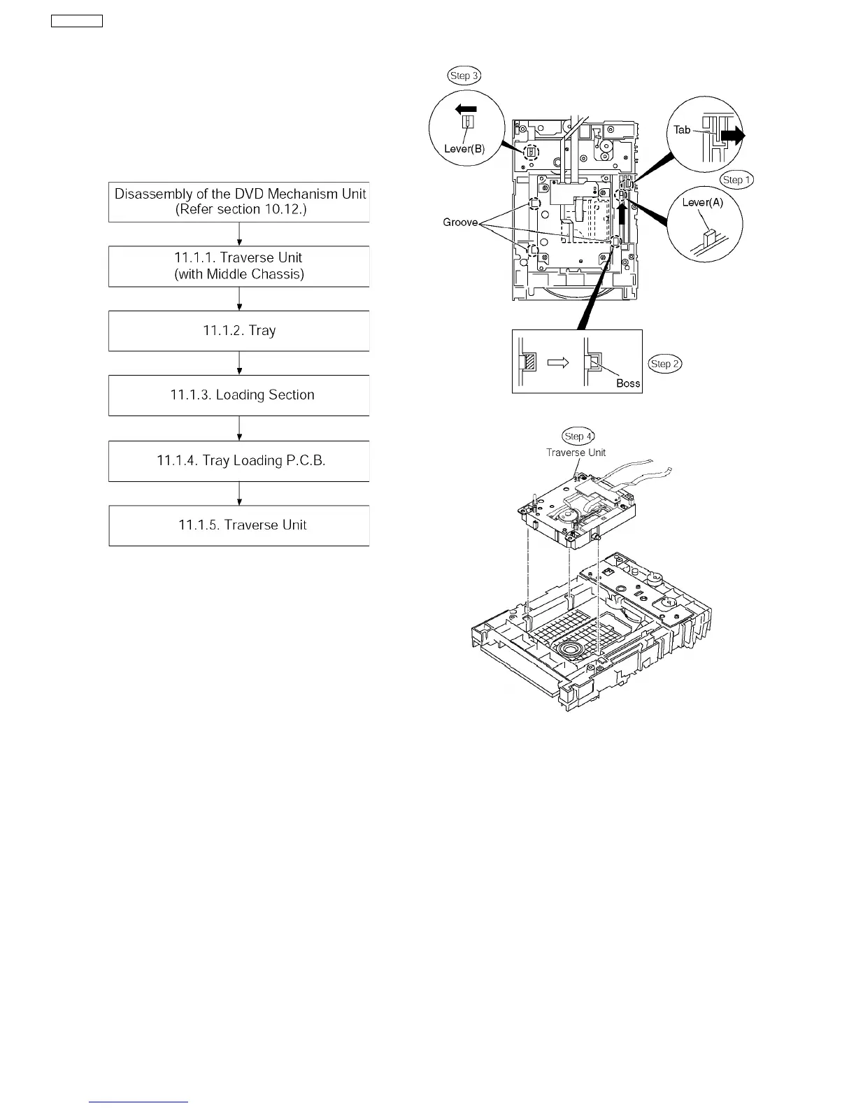
11.1.1. Disassembly of Traverse Unit (with
Middle Chassis)
Step 1 Slide the lever (A) in the arrow direction (to the opposite
side) till it stops.
Step 2 Slide the lever (A) further by bending the tab at the right
side of the lever A in the right direction. (The right groove opens
and the boss becomes seen.)
Step 3 Open the lever (B) to left. (The 2 grooves at the left side
open.).
Step 4 Remove the traverse unit.
11.1.2. Disassembly of Tray
Step 1 Slide the clamp plate while pressing the stopper in the
arrow direction, and remove the clamp plate.
50
SA-PT850EE

Table of Contents

Related product manuals