EasyManua.ls Logo

Panasonic SA-VK61DEE - Page 80

Panasonic SA-VK61DEE
156 pages
Print Icon
To Next Page IconTo Next Page
To Next Page IconTo Next Page
To Previous Page IconTo Previous Page
To Previous Page IconTo Previous Page
Loading...
M+9V
MGND
D+5V
DGND
D+1.5V
DGND
DGND
A+5V
AGND
Y
VGND
VGND
C
CR/PR/R
Y/PY/G
FP3202
DV1 Y/PY/G
DV1 CR/PR/R
DV1 C
DV1 Y
FORE M+9V
FORE MGND
FORE D+5V
DV1 D+1.5V
FORE A+5V
DV1/FORE AGND
C6255
6.3V100
FL6251
F1J1E1040022
FL6253
F1H0J1050018
FL6254
F1H0J1050018
TC3275
TC3274
TC3273
TP3271
TP6275
TP6274
TP6273
TP6272
LB3204
LB3205
LB3208
LB3206
LB3204 - 3208
J0JCC0000119
DV1 VGND
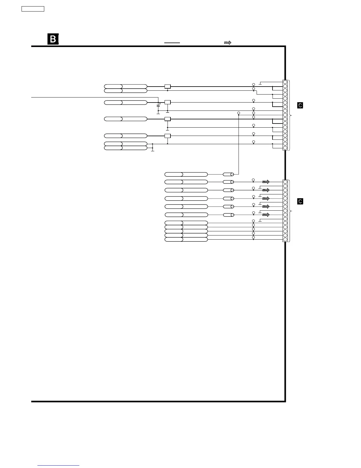
SCHEMATIC DIAGRAM - 11
DVD MODULE 2 (HIND) CIRCUIT
: +B SIGNAL LINE
TO
MAIN CIRCUIT
(CN306) ON
SCHEMATIC
DIAGRAM - 18
DGND
MGND
M+9V
D+5V
DGND
D+1.5V
A+5V
AGND
VGND
CB/PB/B
DV1 CB/PB/B
LB3207
VGND
DGND
FORE TRAYREF
FORE TRAYDRV
FORE MUTE4
FORE TRV-SW+
FORE TRAY/TRV
TP3278
TP3279
TP3280
TP3281
TP3282
TRAYREF
TRAYDRV
TRAYMUT
TRV-SW+
TRAY/TRV
TC3276
FP3203
TP6276
TP6277
TP6278
TP6279
FL6252
F1H0J1050018
: DVD (VIDEO) SIGNAL LINE
DV1 M9V_CTRL
LB3209
D0GB101JA002
TO
MAIN CIRCUIT
(CN304) ON
SCHEMATIC
DIAGRAM - 18
TP6280TP6253
15
14
13
12
11
10
2
4
6
8
9
7
5
3
1
15
14
13
12
11
10
2
4
6
8
9
7
5
3
1
17
16
80
SA-VK61DEE

Table of Contents

Related product manuals