EasyManua.ls Logo

Pfaff 1114 - Setting Start and End Backtacks

Pfaff 1114
52 pages
Print Icon
To Next Page IconTo Next Page
To Next Page IconTo Next Page
To Previous Page IconTo Previous Page
To Previous Page IconTo Previous Page
Loading...
Preparation
40
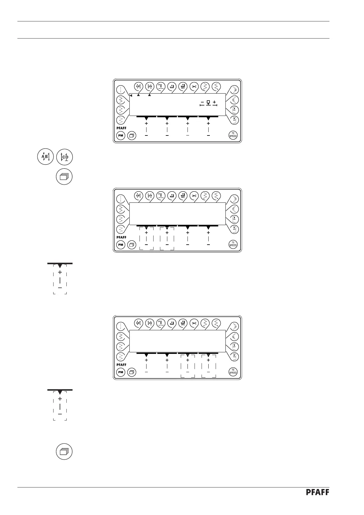
9.10 Entering the start and end backtacks
Switch on the machine.
By pressing the corresponding +/- key select the desired value for the number of forward
stitches (A) of the start backtacks.
By pressing the corresponding +/- key select the desired value for the number of reverse
stitches (B) of the start backtacks, or the programmed special backtacks A, “B“, “C“ or
“D“ for the seam start.
Activate the corresponding function by pressing the keys Start backtacks and/or End
backtacks (arrow appears below the corresponding function key).
Change to the input menu for start and end backtacks by pressing the Menu key.
A B C D
3 3 3 3
A B C D
A 3 3
By pressing the corresponding +/- key select the desired value for the number of reverse
stitches (C) of the end backtacks.
By pressing the corresponding +/- key select the desired value for the number of forward
stitches (D) of the end backtacks, or the programmed special backtacks “E“, “F“, “G“ or
“H“ for the seam end.
By pressing the Menu key the standard pattern input menu is called up again.
+0.0

Table of Contents

Related product manuals