EasyManua.ls Logo

Pfaff 438 Series - Tensloning the Driving Belt in the Gearcase

Pfaff 438 Series
52 pages
To Next Page IconTo Next Page
To Next Page IconTo Next Page
To Previous Page IconTo Previous Page
To Previous Page IconTo Previous Page
Loading...
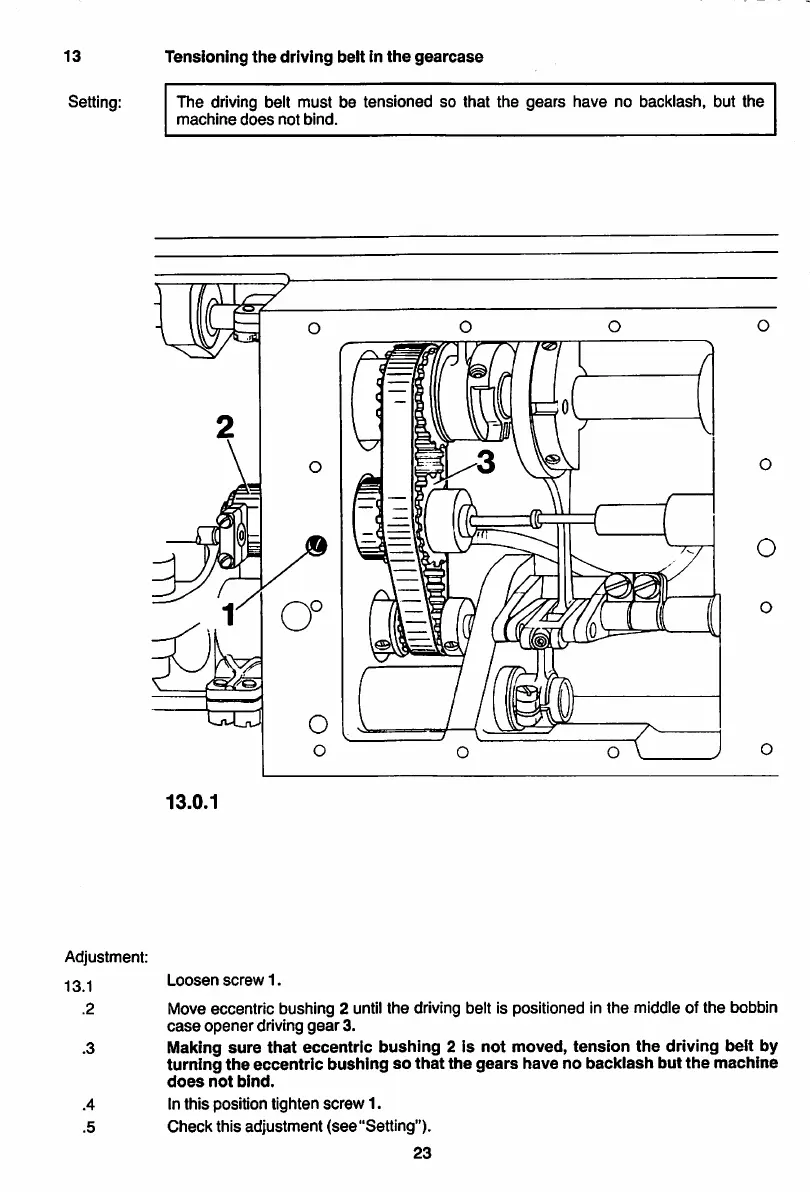
13
Setting:
Adjustment:
13.1
.2
Tensioning
the
driving
belt
in
the
gearcase
The driving beit must be tensioned so that the
gears
have no backlash, but the
machine
does
not
bind.
o
O
13.0.1
Loosen
screw
1.
Move eccentric bushing 2 until the driving belt is positioned in
the
middie of
the
bobbin
case
opener
driving
gear
3.
Making
sure
that
eccentric
bushing
2 is not moved,
tension
the
driving beit by
turning
the
eccentric
bushing
so
that
the
gears
have no
backiash
but
the
machine
does
not
bind.
In this position tighten
screw
1.
Check
this
adjustment
(see"Setting").
23
From the library of Superior Sewing Machine & Supply LLC - www.supsew.com

Related product manuals