EasyManua.ls Logo

PIAGGIO Runner 125 - Diagnostic codes

PIAGGIO Runner 125
327 pages
Print Icon
To Next Page IconTo Next Page
To Next Page IconTo Next Page
To Previous Page IconTo Previous Page
To Previous Page IconTo Previous Page
Loading...
The immobiliser system is tested each time the ig-
nition-key switch is turned from OFF to ON. During
this diagnosis phase a number of control unit sta-
tuses can be seen and various light codes dis-
played. Regardless of the code transmitted, if at
the end of the diagnosis the led remains off per-
manently, the ignition is enabled. If, however, the
led remains on permanently, it means the ignition
is inhibited:
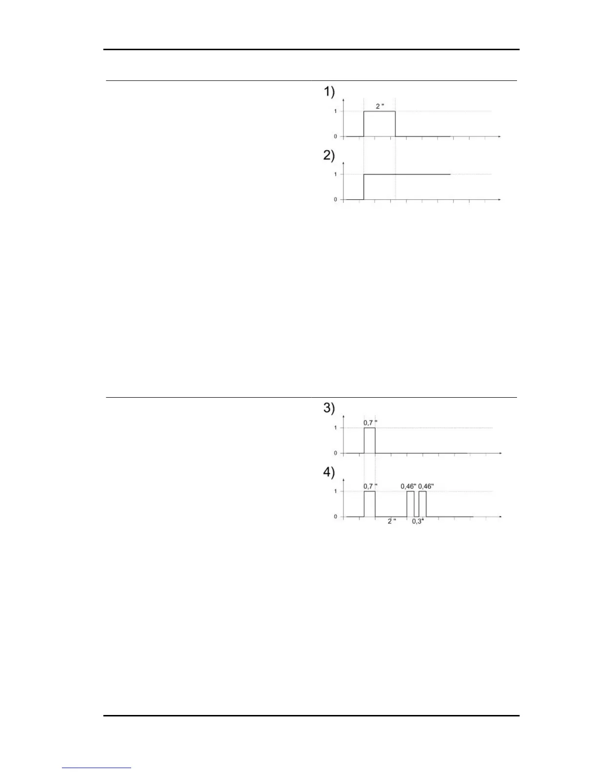
1. Previously unused control unit - key inser-
ted: a single 2 second flash is displayed, after
which the LED remains off permanently. The keys
can be stored to memory, the vehicle can be star-
ted but with a limitation imposed on the number of
revs.
2. Previously unused control unit - transpond-
er absent or cannot be used: The LED is per-
manently ON; in this condition, no operations are
possible, including starting of the vehicle.
3. Programmed control unit - the service key in
(normal condition of use): a single 0.7-second
flash is displayed, after which the LED remains off
steadily. The engine can be started.
4. Programmed control unit - Master key in: a
0.7 sec. flash is displayed followed by the LED re-
maining off for 2 sec. and then by short 0.46 sec.
flashes the same number of times as there are
keys stored in the memory including the Master
key. When the diagnosis has been completed, the
LED remains permanently OFF. The engine can
be started.
5. Programmed control unit - fault detected: a light code is displayed according to the fault detected,
after which the LED remains on steadily. The engine cannot be started. The codes that can be trans-
mitted are:
Code 1 flash
2-flash code
3-flash code
Runner 125 - 200 Diagnostic codes
- 83

Table of Contents

Related product manuals