EasyManua.ls Logo

Pratica Copa Express - Assembly Panel

Pratica Copa Express
130 pages
Print Icon
To Next Page IconTo Next Page
To Next Page IconTo Next Page
To Previous Page IconTo Previous Page
To Previous Page IconTo Previous Page
Loading...
112
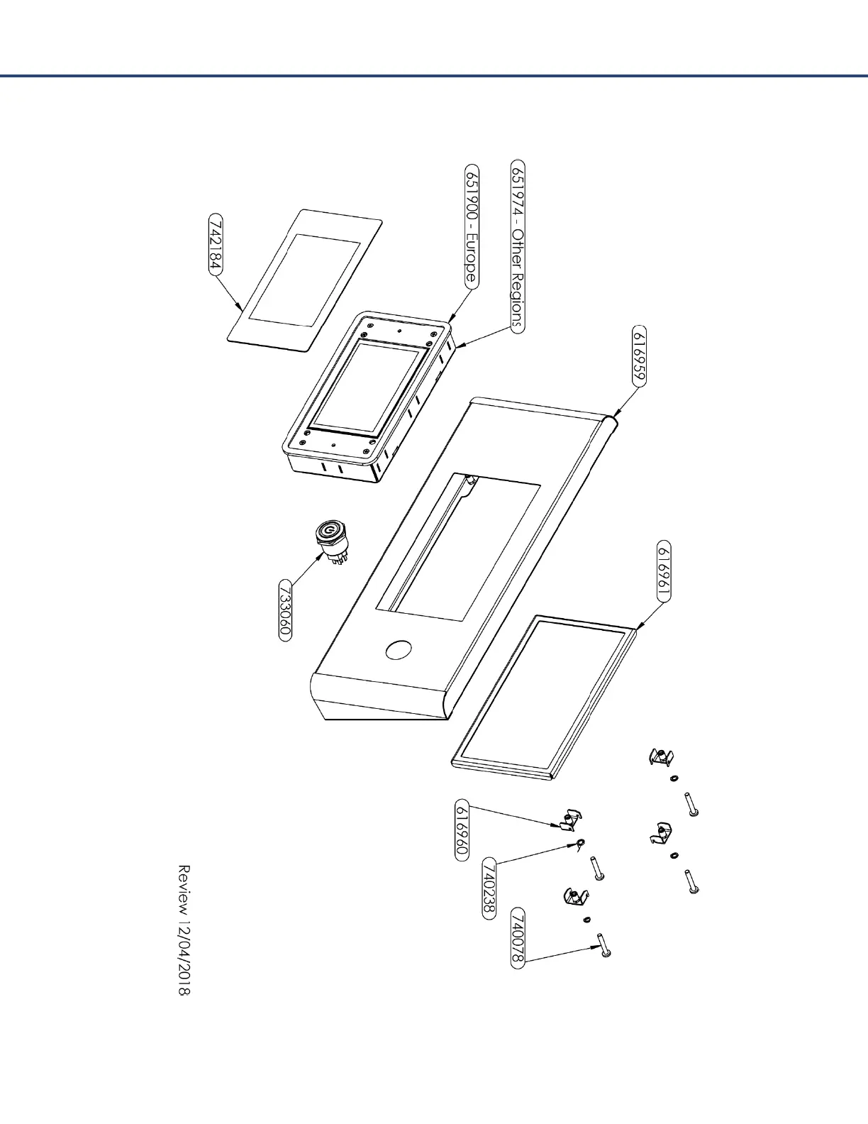
Assembly Panel

Table of Contents

Other manuals for Pratica Copa Express

Related product manuals