EasyManua.ls Logo

RadTech S1SB-54A - Page 47

Default Icon
60 pages
Print Icon
To Next Page IconTo Next Page
To Next Page IconTo Next Page
To Previous Page IconTo Previous Page
To Previous Page IconTo Previous Page
Loading...
PARTS
OM 0495SB-A [45]
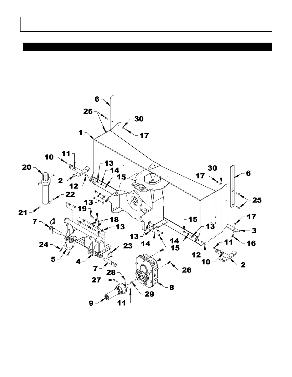
FIG: RAD18xxxx00
54" SNOWBLOWER - REAR