EasyManua.ls Logo

Ryobi RM480e - Post-Mowing Procedures; Completion Checks and Safety

Ryobi RM480e
46 pages
Print Icon
To Next Page IconTo Next Page
To Next Page IconTo Next Page
To Previous Page IconTo Previous Page
To Previous Page IconTo Previous Page
Loading...
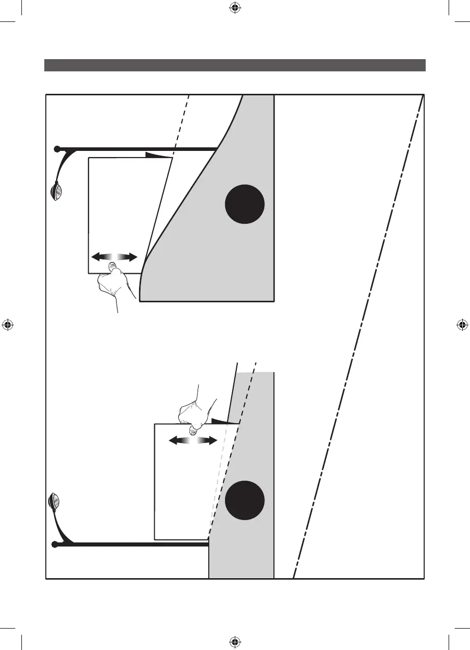
SLOPE GUIDE
15˚ Slope
P
15˚ Line
15˚ Slope

Other manuals for Ryobi RM480e

Related product manuals