EasyManua.ls Logo

SEI Industries BAMBI MAX - Pilot Controls, US Interagency

Default Icon
118 pages
Print Icon
To Next Page IconTo Next Page
To Next Page IconTo Next Page
To Previous Page IconTo Previous Page
To Previous Page IconTo Previous Page
Loading...
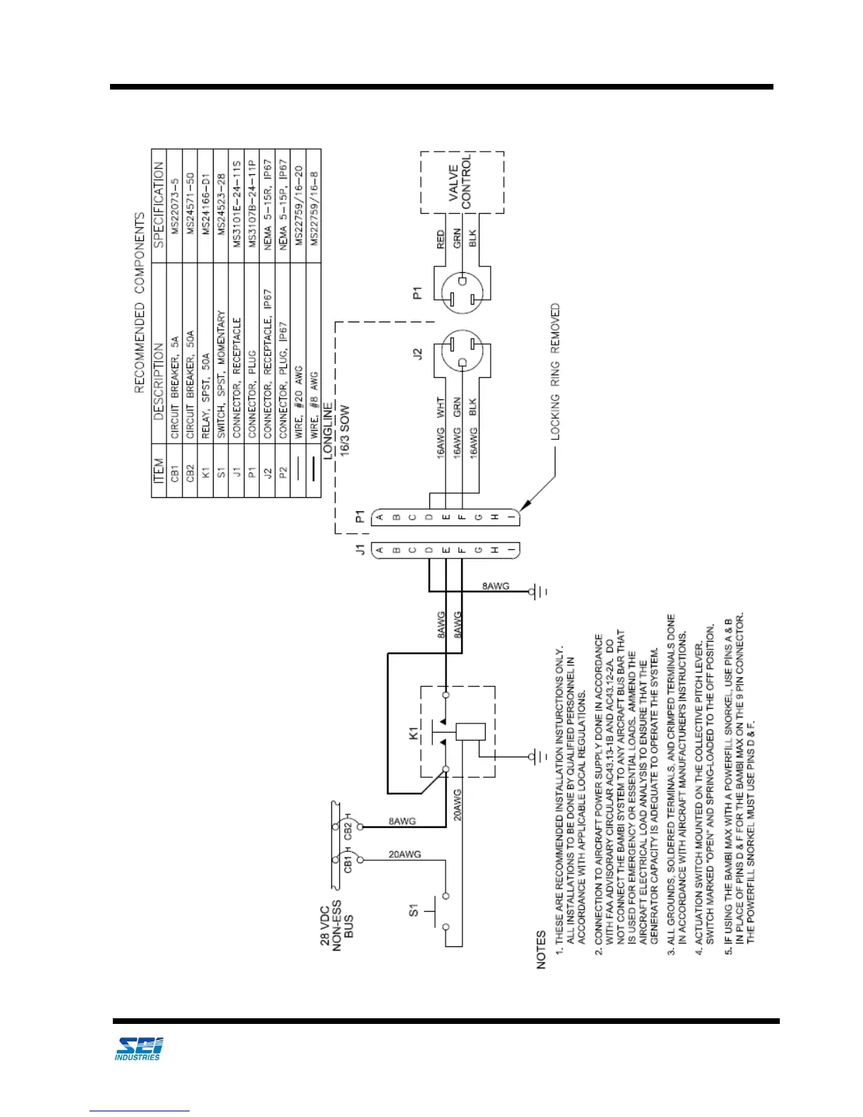
Appendix: Drawings
2016 Bambi MAX Service Manual Models 1518-3542 (Version E) 111
We Engineer Solutions
Pilot Controls, US Interagency

Table of Contents

Other manuals for SEI Industries BAMBI MAX

Related product manuals