EasyManua.ls Logo

Sharp R-8320E - Page 72

Sharp R-8320E
140 pages
Print Icon
To Next Page IconTo Next Page
To Next Page IconTo Next Page
To Previous Page IconTo Previous Page
To Previous Page IconTo Previous Page
Loading...
Pin No.
Signal
I/O
OUT
Description
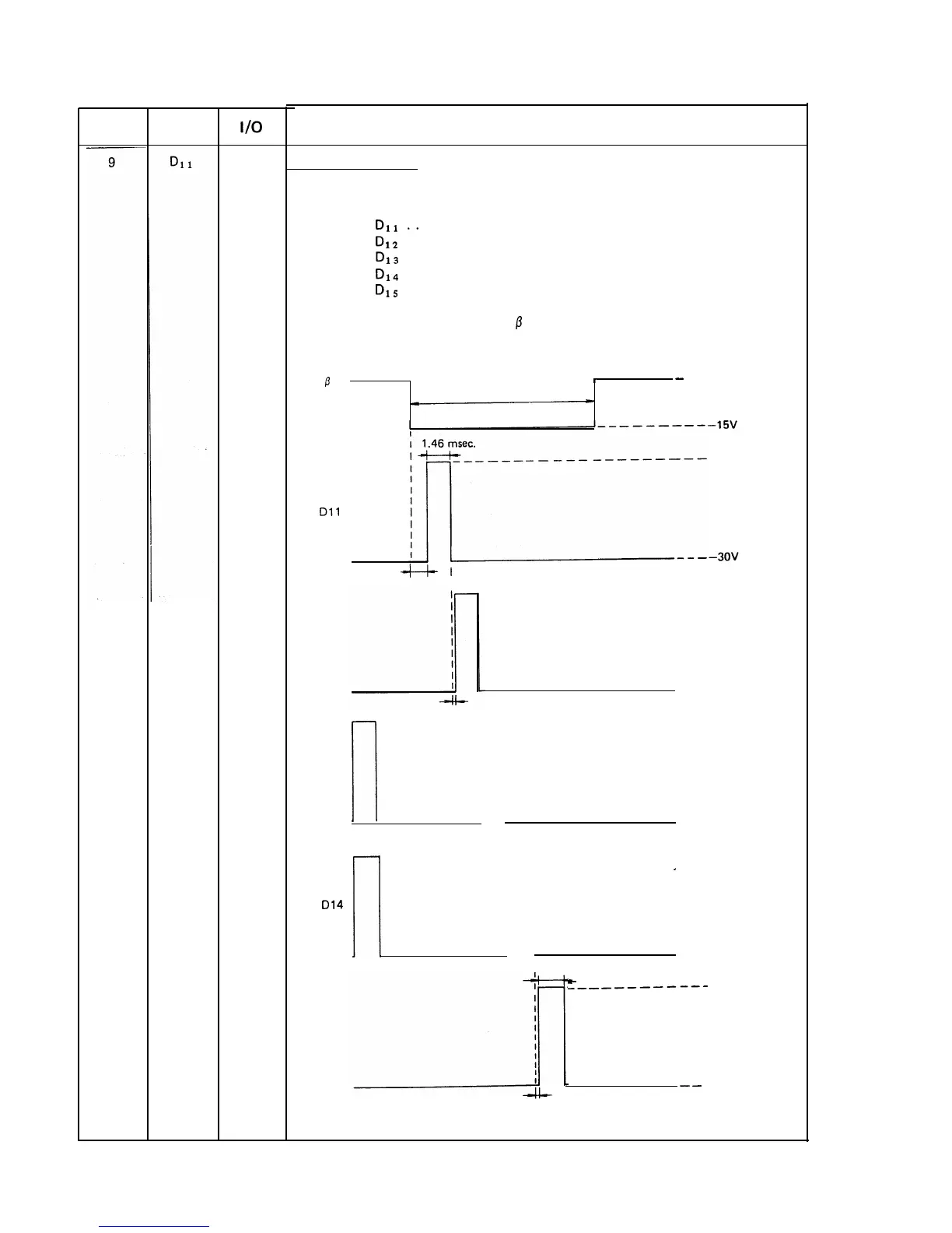
Digit selection signal.
The relation between digit signal and digit are as follows:
Digit Signal
Dight
DI1..
.............
Colon
D12
...............
1
D13
...............
2
D14
...............
3
D1s
...............
4
Usually, one pulse is output in every
p
period, and input into the grid of
Fluorescent Display.
P
13.2 msec.
7
-
--GND
GND
Dll
44-I
1.2-1.4 msec. I
D12
0.14 msec.
D13
1
014
D
-
!
1.46 msec.
D15
0.14 msec.
s-
-___--------
GND
-
-
--3ov
71

Table of Contents

Related product manuals