EasyManua.ls Logo

Sharp SF-1116 - Automatic Exposure Adjustment

Sharp SF-1116
72 pages
Print Icon
To Next Page IconTo Next Page
To Next Page IconTo Next Page
To Previous Page IconTo Previous Page
To Previous Page IconTo Previous Page
Loading...
19
MAKING COPIES
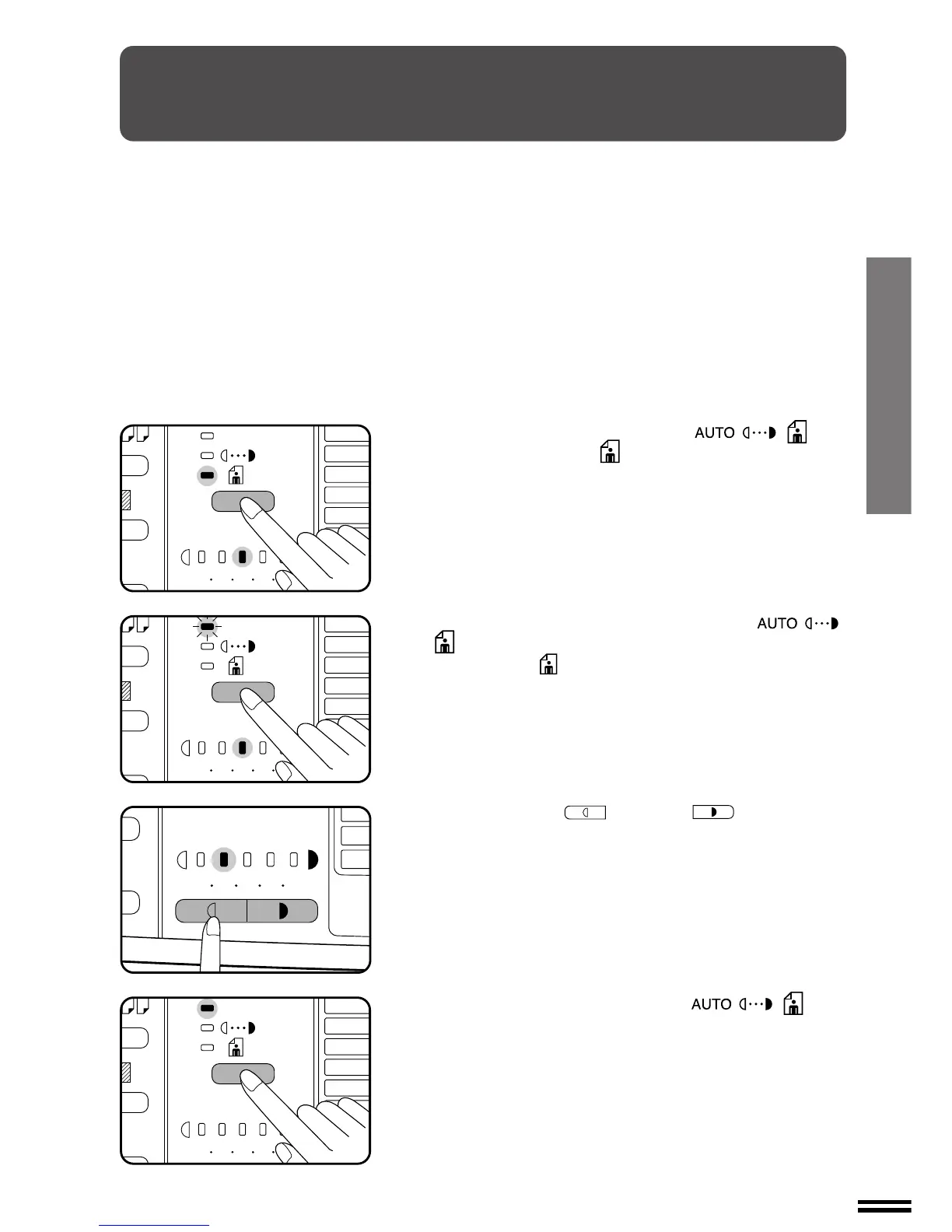
AUTOMATIC EXPOSURE ADJUSTMENT
The automatic exposure level can be adjusted to suit your copying
needs.
1
Press the AUTO/MANUAL/PHOTO ( / / ) key
to select the PHOTO (
) mode.
2
Press and hold the AUTO/MANUAL/PHOTO ( / /
) key for approximately 5 seconds.
The PHOTO ( ) indicator will go out and the AUTO indicator
will begin to blink.
One or two exposure indicators corresponding to the automatic
exposure level which has been selected will light up. The factory
default setting is level “3”.
3
Press the LIGHT ( ) or DARK ( ) key to lighten
or darken the automatic exposure level as desired.
4
Press the AUTO/MANUAL/PHOTO ( / / ) key.
The AUTO indicator will stop blinking and will light up steadily.
This automatic exposure level will remain in effect until you
change it again by this procedure.
Automatic exposure adjustment
AUTO
123
4
5
AUTO
123
4
5
123
4
5
AUTO
123
4
5

Related product manuals