EasyManua.ls Logo

Sharp SF-1116 - Toner Save Mode

Sharp SF-1116
72 pages
Print Icon
To Next Page IconTo Next Page
To Next Page IconTo Next Page
To Previous Page IconTo Previous Page
To Previous Page IconTo Previous Page
Loading...
20
MAKING COPIES
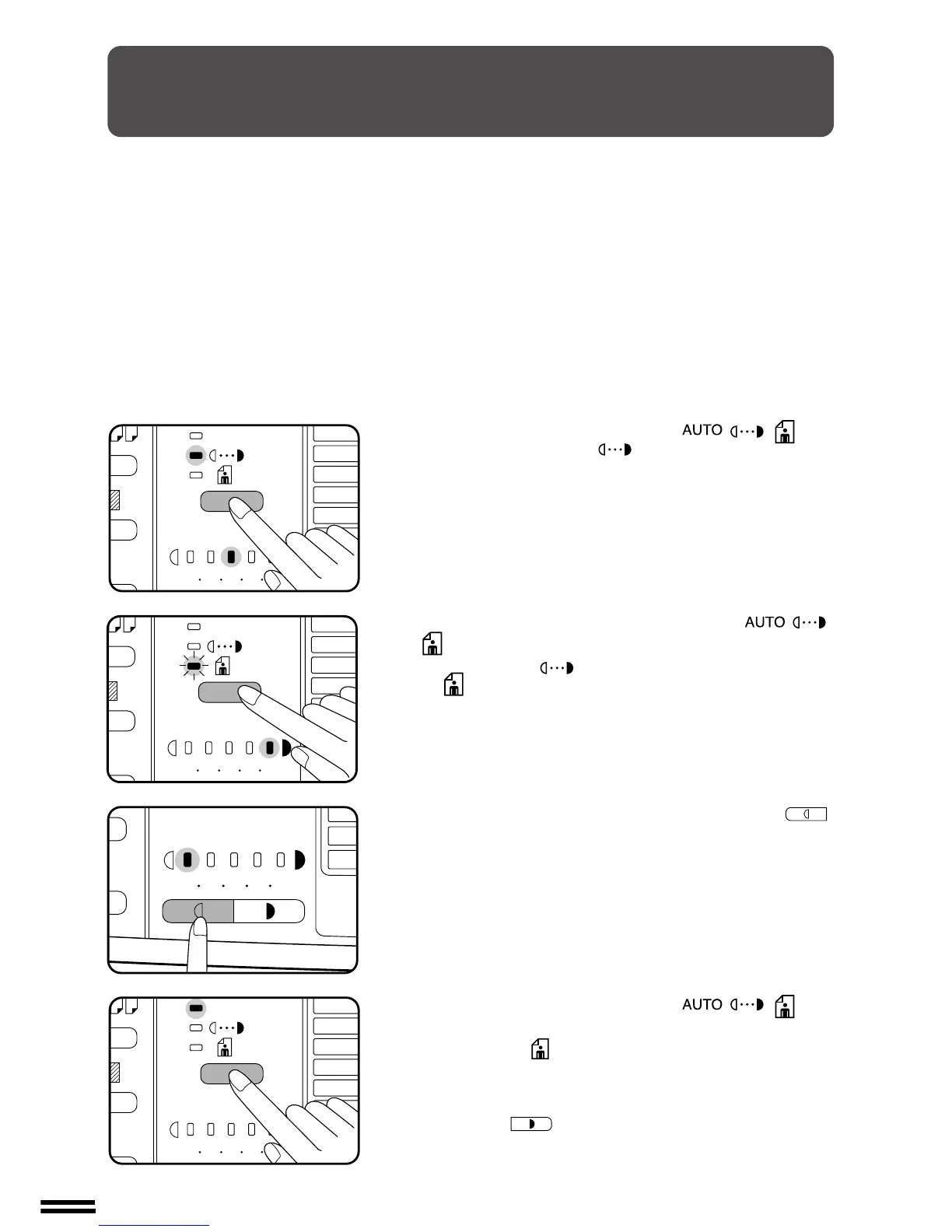
TONER SAVE MODE
This mode reduces toner consumption by approximately 10% in the
automatic and manual exposure modes. Copies will be lighter but still
adequate for general use. Selection of this mode does not affect the
photo mode. Follow the procedure below for setting the toning level.
1
Press the AUTO/MANUAL/PHOTO ( / / ) key
to select the MANUAL (
) mode.
2
Press and hold the AUTO/MANUAL/PHOTO ( / /
) key for approximately 5 seconds.
The MANUAL ( ) indicator will go out and the PHOTO
( ) indicator will begin to blink.
The exposure indicator marked “5” will light up, indicating that
the standard toner mode is active.
3
To enter the toner save mode, press the LIGHT ( )
key.
The exposure indicator marked “1” will light up, indicating that
the toner save mode is selected.
4
Press the AUTO/MANUAL/PHOTO ( / / ) key
twice.
The PHOTO ( ) indicator will stop blinking and the AUTO
indicator will light up steadily. The toner save mode is now
active.
To return to the standard mode, repeat the procedure but use
the DARK ( ) key to select exposure level “5” in step 3.
Toner save mode
AUTO
123
4
5
AUTO
123
4
5
123
4
5
AUTO
123
4
5

Related product manuals