EasyManua.ls Logo

SIEB & MEYER SD2S 0362249xy - Field Plate

Default Icon
114 pages
Print Icon
To Next Page IconTo Next Page
To Next Page IconTo Next Page
To Previous Page IconTo Previous Page
To Previous Page IconTo Previous Page
Loading...
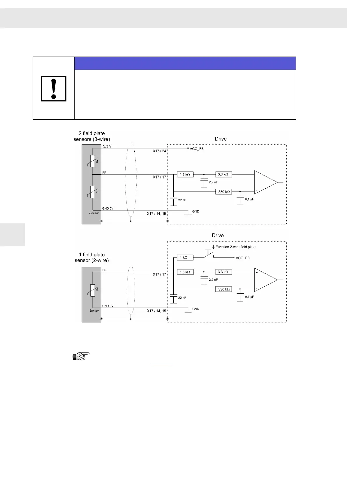
8.6.8 Field Plate
NOTICE
Voltage (VCC) varies depending on the set measuring system
When the connected measuring system is operated under a wrong voltage, it can
be damaged.
Check that you have chosen the right measuring system in the software before
connecting.
When this meysuring system is parameterized VCC_FB is switched to 5.3 V.
A digital field plate (e.g. GMR sensor) is connected to X15 (pin 6), see
connection example page 59.
Connection Examples
W
68 Drive System SD2S - Hardware Description 0362X49xy / 0362129xy
8

Table of Contents

Related product manuals