EasyManua.ls Logo

Siemens 6EP4135-0GB00-0AY0

Siemens 6EP4135-0GB00-0AY0
232 pages
To Next Page IconTo Next Page
To Next Page IconTo Next Page
To Previous Page IconTo Previous Page
To Previous Page IconTo Previous Page
Loading...
Safety, approvals, EMC
9.2 Test voltage
SITOP UPS1600 / UPS1100
222 Manual, 04.2017, A5E37775406-8-76
9.2
Test voltage
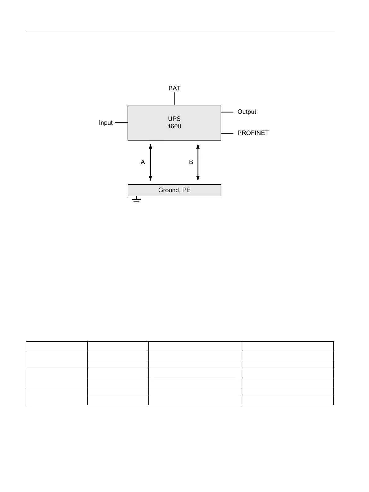
Figure 9-1 Test voltage diagram
Only applicable for UPS1600 with PROFINET (-2AY0).
Only the manufacturer can perform the type test and production test; users can also perform
the field test.
Preconditions for performing the field test:
Test (A)
Connect the input, output, BAT and signaling contact with one another and measure with
respect to PE
Test (B)
Connect all PROFINET cables and measure with respect to PE (input, output, BAT signal
connector and PE are connected with each other)
Table 9- 1 Test voltage
Test time
Input, output, BAT ↔ PE (A)
PROFINET ↔ PE (B)
Type test
60 s
700 VDC
2200 VDC
60 s
500 VAC
1500 VAC
Production test
1 s
200 VDC
1 s
140 VAC
Field test
1 s
200 VDC
2200 VDC
1 s
140 VAC
1500 VAC
Remark:
Tripping current for DC measurement: 0
mA
Tripping current for AC measurement: <100 mA

Table of Contents

Related product manuals