EasyManua.ls Logo

Siemens 6RA8018-6DV62

Siemens 6RA8018-6DV62
758 pages
To Next Page IconTo Next Page
To Next Page IconTo Next Page
To Previous Page IconTo Previous Page
To Previous Page IconTo Previous Page
Loading...
SINAMICS DCM DC Converter
Operating Instructions, 12/2018, A5E34763375A
39
Technical data
4
Note
You can find the technical data for the connectors and terminals in the section titled
"Connecting (Page 91)".
4.1
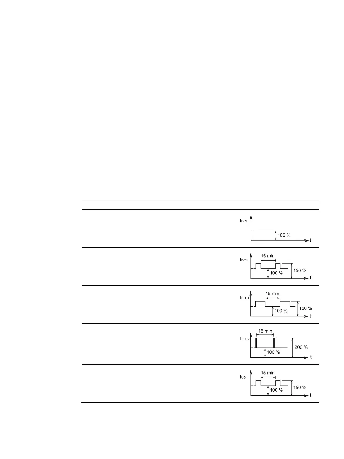
Load classes
For maximum efficiency when adapting the SINAMICS DC MASTER to the load profile for
the driven machine, you can use the load cycle to carry out dimensioning.
Parameter p50067 is used to make the setting in the SINAMICS DC MASTER.
Table 4- 1 Load classes
Load class
Load for converter
Load cycle
DC I
(p50067 = 1)
I
DC I
continuous (I
dN
)
DC II
(p50067 = 2)
I
DC II
for 15 mins and
1.5 × I
DC II
for 60 s
DC III
(p50067 = 3)
I
DC III
for 15 mins and
1.5 × I
DC III
for 120 s
DC IV
(p50067 = 4)
I
DC IV
for 15 mins and
2 × I
DC IV
for 10 s
US rating
(p50067 = 5)
I
US
for 15 mins and
1.5 × I
US
for 60 s

Table of Contents

Related product manuals