EasyManua.ls Logo

Sony HCD-DZ3K - Page 10

Sony HCD-DZ3K
84 pages
Print Icon
To Next Page IconTo Next Page
To Next Page IconTo Next Page
To Previous Page IconTo Previous Page
To Previous Page IconTo Previous Page
Loading...
10
HCD-DZ3K
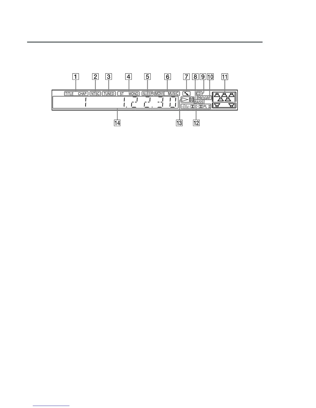
Front panel display
About the indications in the front panel display
A Lights up when the time information of
a title or chapter appears in the front
panel display. (DVD only) (38)
B Lights up when the color system is set
to NTSC. (Asian, Australian, and Middle
Eastern models only) (12)
C Lights up when a station is received.
(Radio only) (51)
D Monaural/Stereo effect (Radio only)
(51)
E Lights up when the sleep timer is set.
(58)
F Lights up when the music or movie
mode is selected. (25)
G Lights up when the karaoke mode is
on. (54)
H Lights up when the DYNAMIC BASS is
selected. (58)
I Lights up when CD is loaded.
J Lights up when the system outputs
progressive signals (DVD function
only). (19)
K Indicates the selected [SPEAKER
FORMATION]. (63)
L Current surround format (Except for
JPEG)
M Playing status (DVD function only)
N Displays systemís status such as
chapter, title, or track number, time
information, radio frequency, playing
status, sound field, etc.

Table of Contents

Related product manuals