EasyManua.ls Logo

Sukup Fastir - Quad - Four Auger Machine

Default Icon
70 pages
Print Icon
To Next Page IconTo Next Page
To Next Page IconTo Next Page
To Previous Page IconTo Previous Page
To Previous Page IconTo Previous Page
Loading...
Appendix A - Wiring Diagrams
52
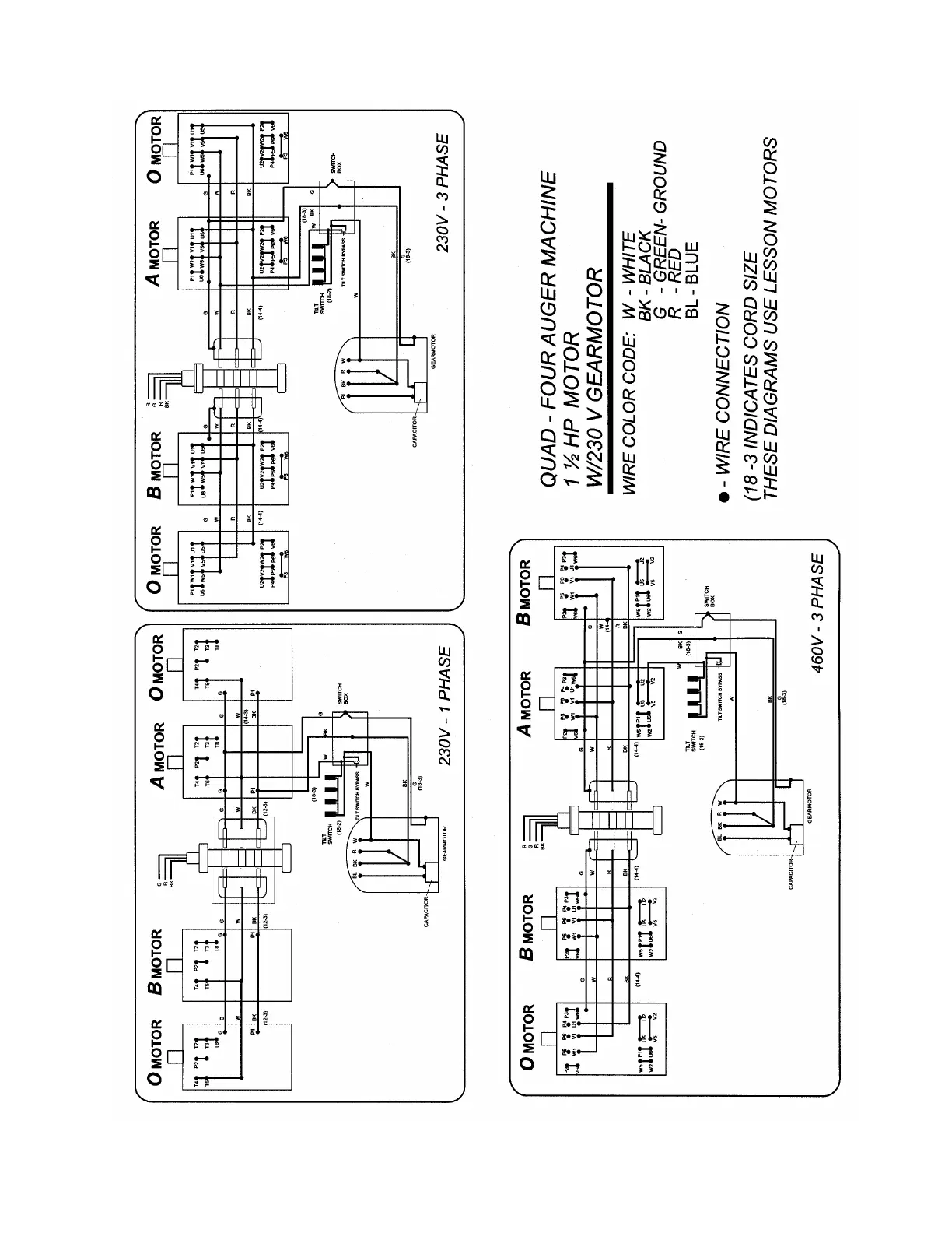
Figure 54 - Quadruple-Auger Fastir Wiring Diagram

Table of Contents

Related product manuals