EasyManua.ls Logo

Teac TD-240A - Page 24

Teac TD-240A
100 pages
Print Icon
To Next Page IconTo Next Page
To Next Page IconTo Next Page
To Previous Page IconTo Previous Page
To Previous Page IconTo Previous Page
Loading...
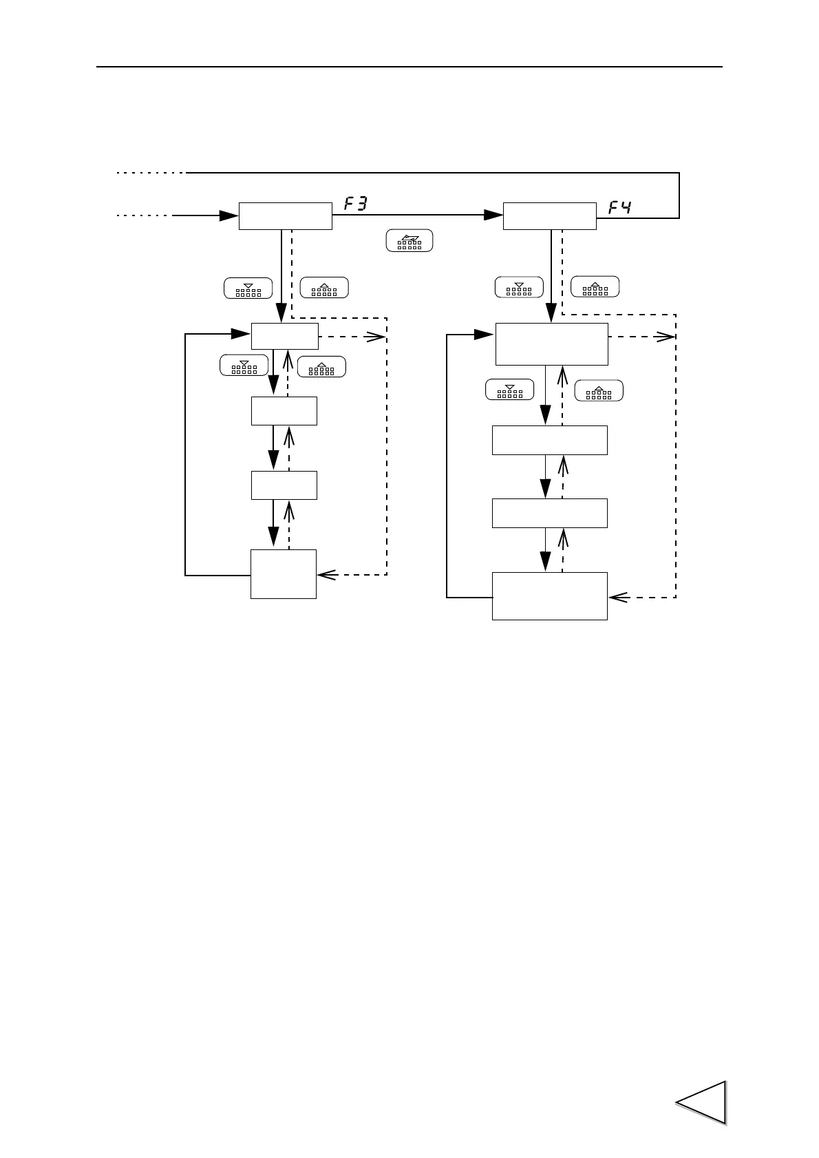
3.SETTING MODE CONFIGURATION
15
LOCK
Scale
Display
BCD Data
Update Rate
RS-232C
D/A Full Scale
Setting Mode3 Setting Mode4
UP
DOWN
Excitation
UP
DOWN
DOWN
UP
DOWN
UP
SEL
D/A Zero Setting
Setting
Frequency
Division
Voltage
P. 49
P.5 0
P.5 1
P.5 2
P. 62
P. 66
P. 75
P. 75

Table of Contents

Related product manuals