EasyManua.ls Logo

Teac TD-240A - 5-11.Automatic Printing

Teac TD-240A
100 pages
Print Icon
To Next Page IconTo Next Page
To Next Page IconTo Next Page
To Previous Page IconTo Previous Page
To Previous Page IconTo Previous Page
Loading...
5.SETTING OF FUNCTIONS
46
5-11. Automatic Printing
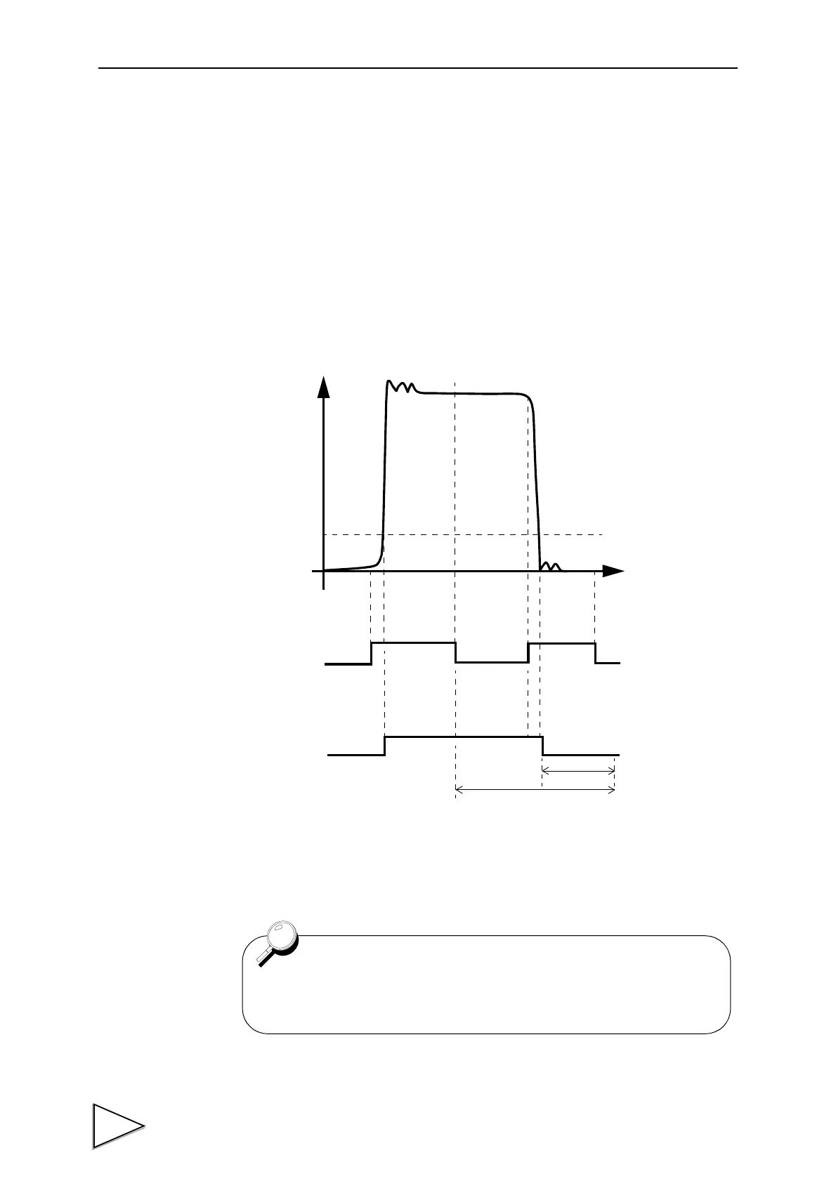
The Automatic Printing function automatically prints out indicated values on a TEAC
printer connected to the TD-240A over the SI/F. Printing is made when indicates vales
are stable. Parameter for stabilization is set in the Motion Detect function. The
stabilized indicated value can be held for three seconds indicated value hold function.
Operation of the indicated value hold function
Indicated
Near zero
0
Stable
Near zero
ON
ON
ON
ON
OFF
OFF
OFF
Automatic printing
Hold
3 seconds
Time
ON
Hold function
Indicated value
SI/F
Output signalHI, LOW
value
If the state of Near Zero ON is not keeping for three
minutes, the hold values was not canceled.

Table of Contents

Related product manuals