EasyManua.ls Logo

Teac TD-240A - Page 66

Teac TD-240A
100 pages
Print Icon
To Next Page IconTo Next Page
To Next Page IconTo Next Page
To Previous Page IconTo Previous Page
To Previous Page IconTo Previous Page
Loading...
6HOLD FUNCTION
57
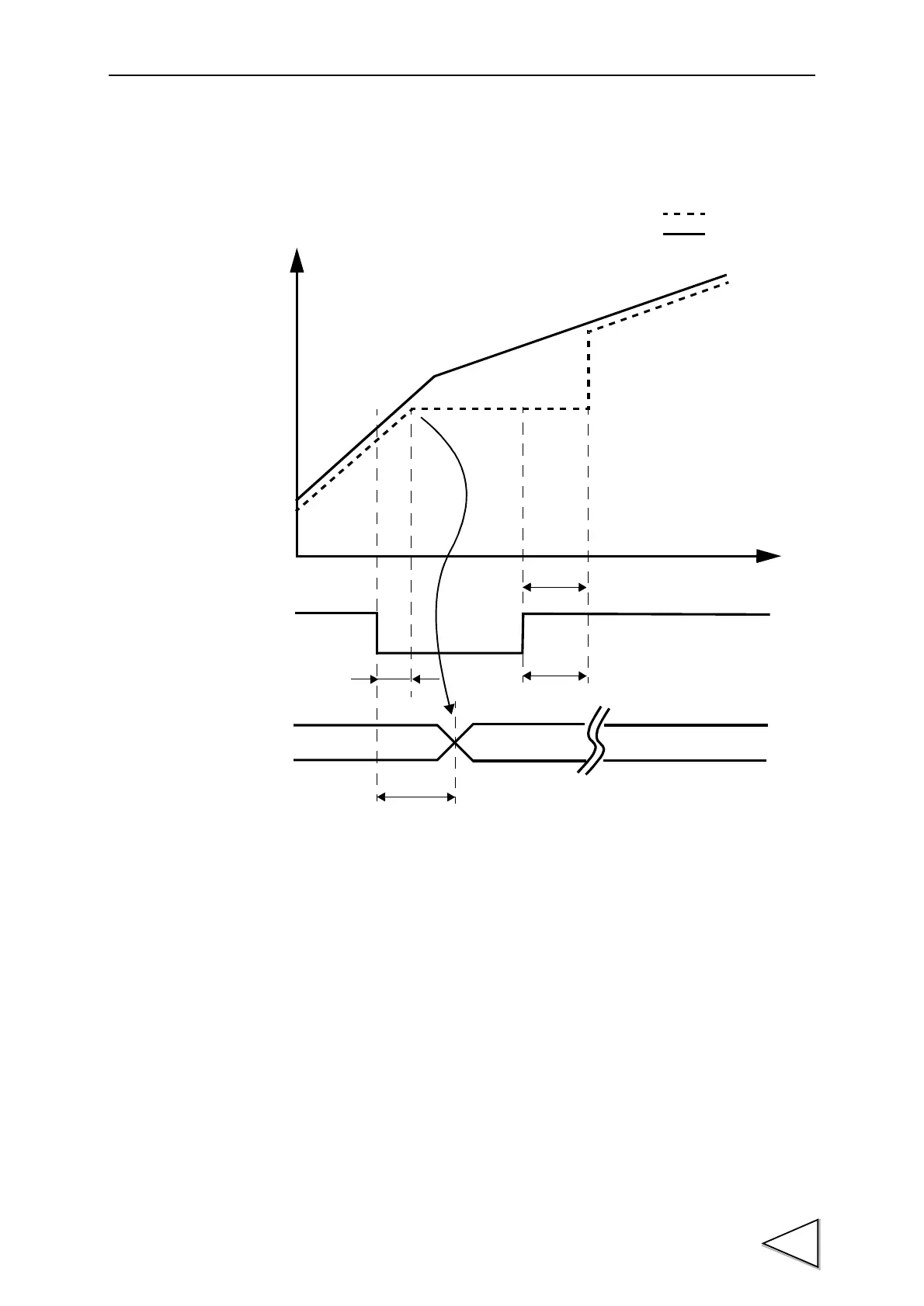
Timing Chart
t1 Time from the short-circuiting of the hold input (OFF ON) to the display of the
hold value.
t2 Time from start of the hold to the A/D conversion of the hold value.
t3 Time from the input of the hold input (ON OFF) to the reset of the analog hold.
t4 The minimum tracking (resetting) time required for resetting the display of the
held value.
Hold input
t1
t2
t4
t3
Time
t1 MAX 25mS
t2 MAX 25mS
t3 MAX 25mS
t4 MIN 25mS
Display and
BCD output
Indicated value
Sensor input

Table of Contents

Related product manuals