EasyManua.ls Logo

TELEDYNE OLDHAM SIMTRONICS iTRANS 2 - Page 16

TELEDYNE OLDHAM SIMTRONICS iTRANS 2
84 pages
Print Icon
To Next Page IconTo Next Page
To Next Page IconTo Next Page
To Previous Page IconTo Previous Page
To Previous Page IconTo Previous Page
Loading...
iTRANS 2
FIXED POINT SINGLE OR DUAL GAS MONITOR
WITH DUAL ANALOG OUTPUTS
USER MANUAL
10
77036429-EN
Revision 7.0
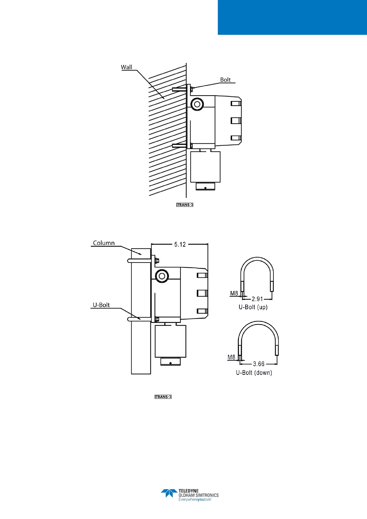
Figure 3-1 Mounting the Gas Monitor on a Wall
Figure 3-2 Mounting the Gas Monitor on a Column Using U-Bolts

Related product manuals