EasyManua.ls Logo

ThinkPad S230u - Page 87

ThinkPad S230u
100 pages
Print Icon
To Next Page IconTo Next Page
To Next Page IconTo Next Page
To Previous Page IconTo Previous Page
To Previous Page IconTo Previous Page
Loading...
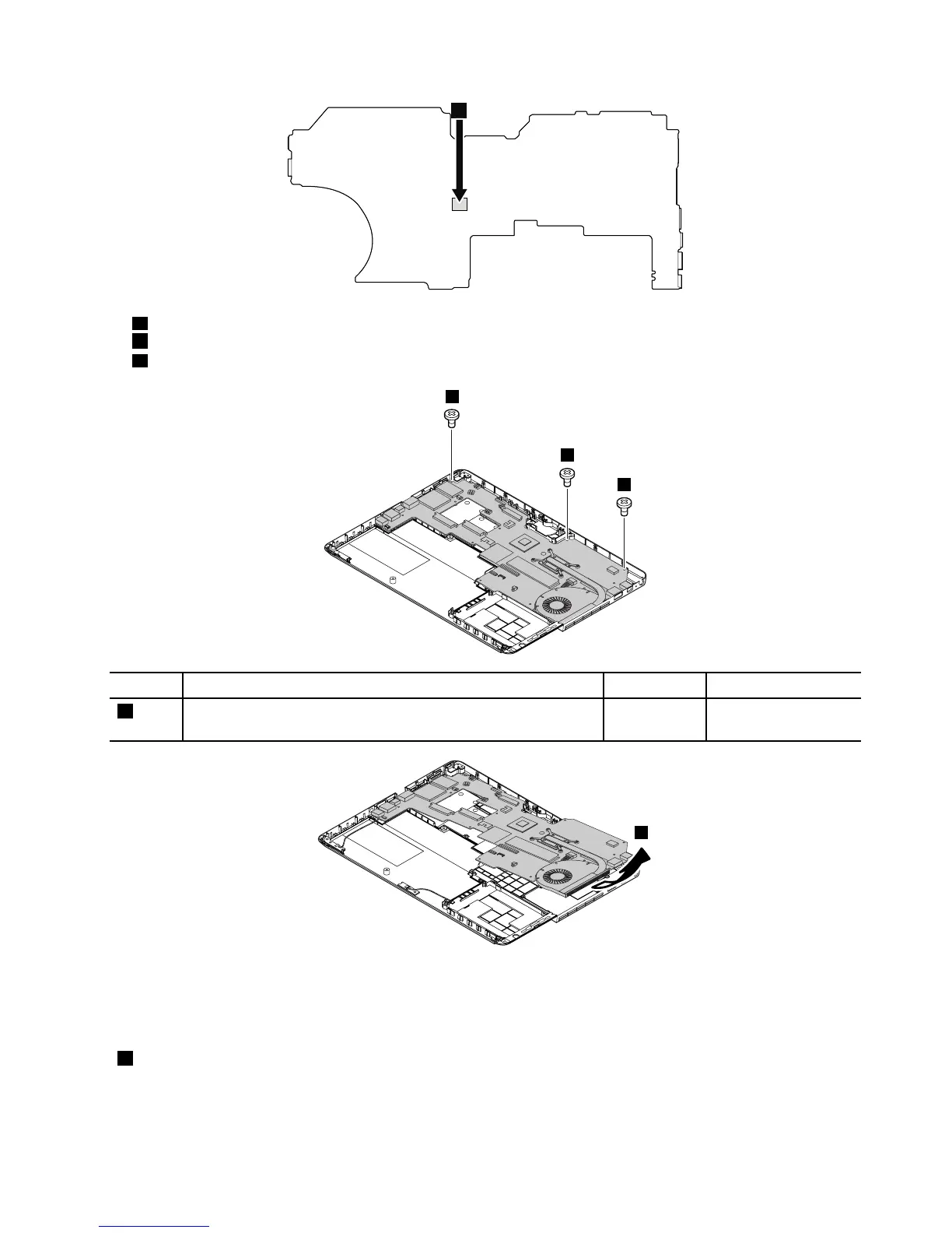
c
aPlatformControllerHub(PCH)
bMicroprocessor
cAccelerometerchipfortheharddiskdriveActiveProtectionSystem
1
1
1
StepScrew(quantity)Color
Torque
1
M2×2.5mm,wafer-head,nylon-coated(3)
Black0.181Nm
(1.85kgf-cm)
2
Applyinglabelstothebasecover
ThenewbasecoverFRUisshippedwithakitcontainingthefollowinglabel.Applythelabellistedwhen
youreplacethebasecover.
1Machinetypeandserialnumberlabel
Forthelabelswhicharenotshippedwiththenewbasecover,peelthemofffromtheoldbasecover,and
adherethemtothenewone.
Chapter9.RemovingorreplacingaFRU81

Table of Contents

Related product manuals