EasyManua.ls Logo

ThinkPad S230u - Page 93

ThinkPad S230u
100 pages
Print Icon
To Next Page IconTo Next Page
To Next Page IconTo Next Page
To Previous Page IconTo Previous Page
To Previous Page IconTo Previous Page
Loading...
3
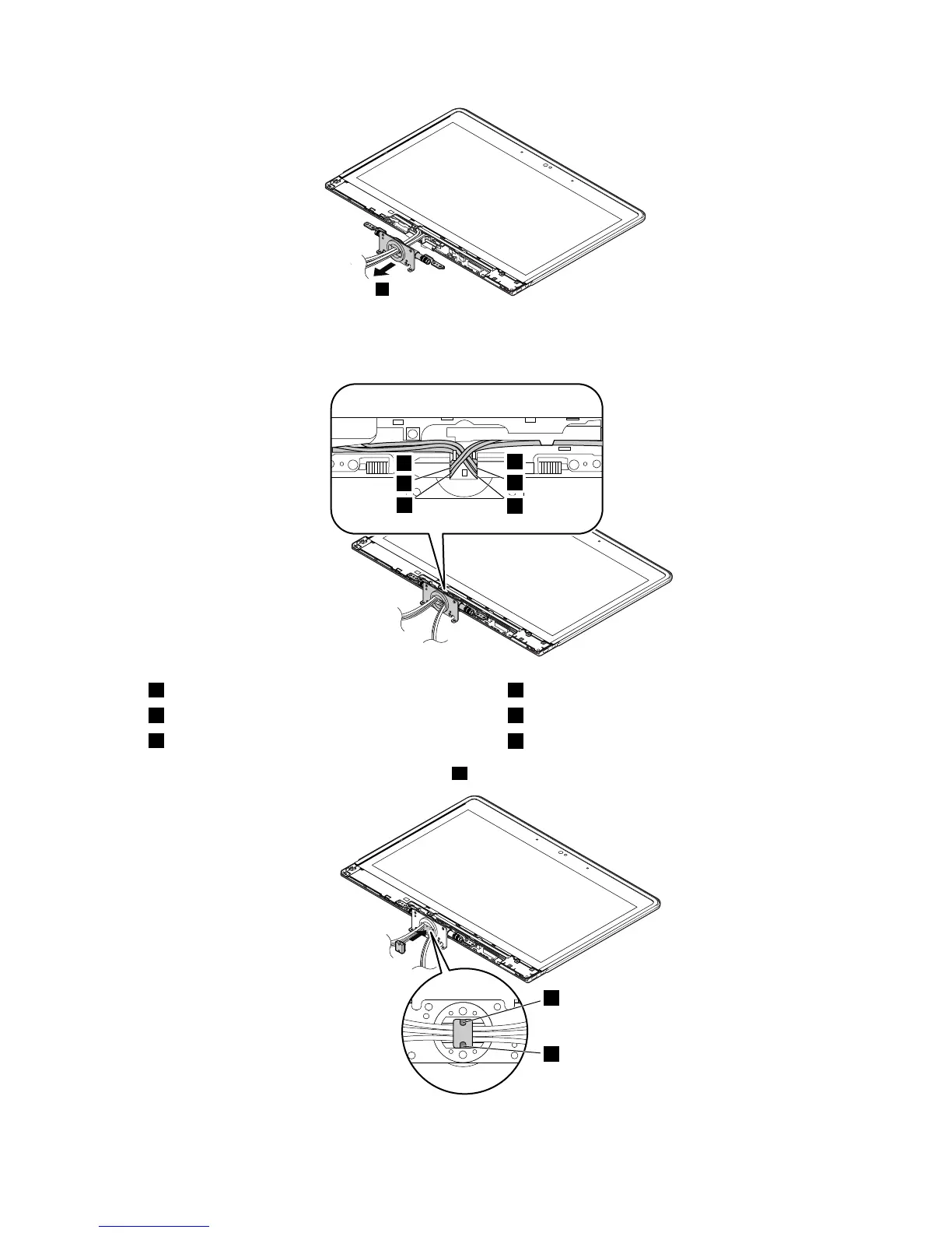
Wheninstalling:
1.Pullthecablesthroughtheholeinthehinge,androutthecablesasshowninthefollowingillustration.
4
5
6
3
2
1
1Powercableassembly4WirelessWANmainantenna
2WirelessWANauxiliaryantenna5WirelessLANauxiliaryantenna
3WirelessLANmainantenna
6LCDcableassembly
2.Installtherubberuntilitbesttsthelatchesa.
a
a
3.ScrewtheLCDunittothebasecoverassembly,androutthecablesasshowninthefollowingillustration.
Chapter9.RemovingorreplacingaFRU87

Table of Contents

Related product manuals