EasyManua.ls Logo

Trane CGAM - Page 227

Trane CGAM
276 pages
Print Icon
To Next Page IconTo Next Page
To Next Page IconTo Next Page
To Previous Page IconTo Previous Page
To Previous Page IconTo Previous Page
Loading...
CG-SVX17D-EN 227
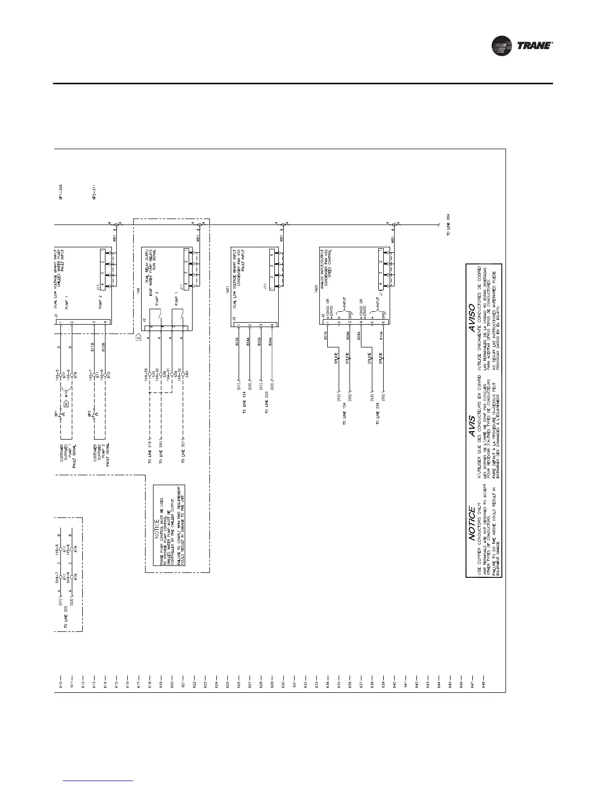
Unit Wiring
40-70 Ton - “V Frame - Common Control

Table of Contents

Related product manuals