EasyManua.ls Logo

VAT 613 Series - Page 27

VAT 613 Series
149 pages
To Next Page IconTo Next Page
To Next Page IconTo Next Page
To Previous Page IconTo Previous Page
To Previous Page IconTo Previous Page
Loading...
Series 613 INSTALLATION
984360EC Edition 12.08.2022 27/
149
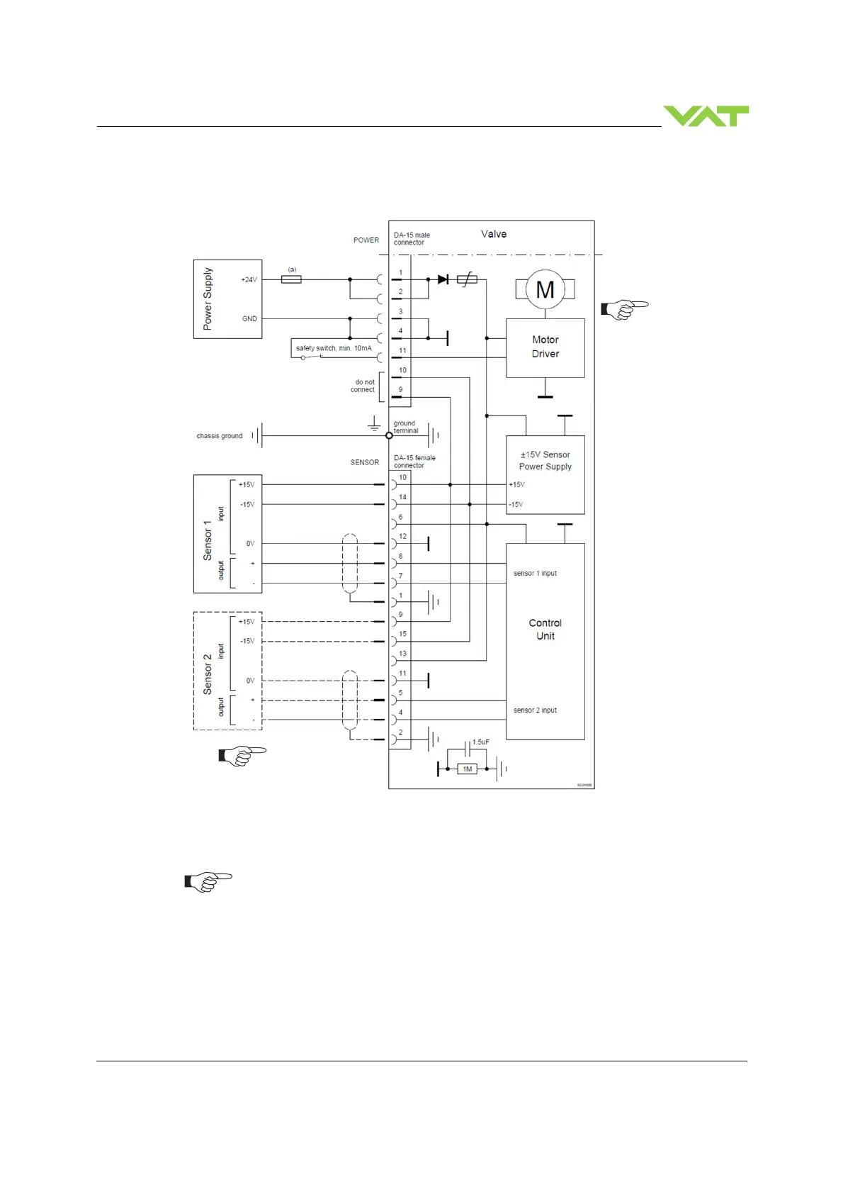
5.5.3.3 Power and 15V sensor connection with optional SPS module
[61. . . - . . A . - . . . . / 61. . . - . . C . - . . . . versions only]
VAT fuse recommendation: (a) 3 AF
Use shielded sensor cable(s). Keep cable as short as possible, but locate it away
from noise sources.
Connector: Use only screws with 4–40 UNC thread for fastening the connectors!
Pins 4 and 11 must be
bridged for operation.
An optional switch
would allow for motor
interlock to prevent
valve from moving.
Low range sensor may be
connected to sensor 1 or
sensor 2 input. Do
configuration accordingly.

Table of Contents

Related product manuals