EasyManua.ls Logo

Vertical Express LD-16 - Harness Assembly Diagrams; COP Extension Harness, 462 AEN_; COP Adapter Harness, 462 AEM_

Vertical Express LD-16
116 pages
Print Icon
To Next Page IconTo Next Page
To Next Page IconTo Next Page
To Previous Page IconTo Previous Page
To Previous Page IconTo Previous Page
Loading...
Harness Assembly Diagrams LD-16 Door Operator - Modernization
A-8 © Vertical Express
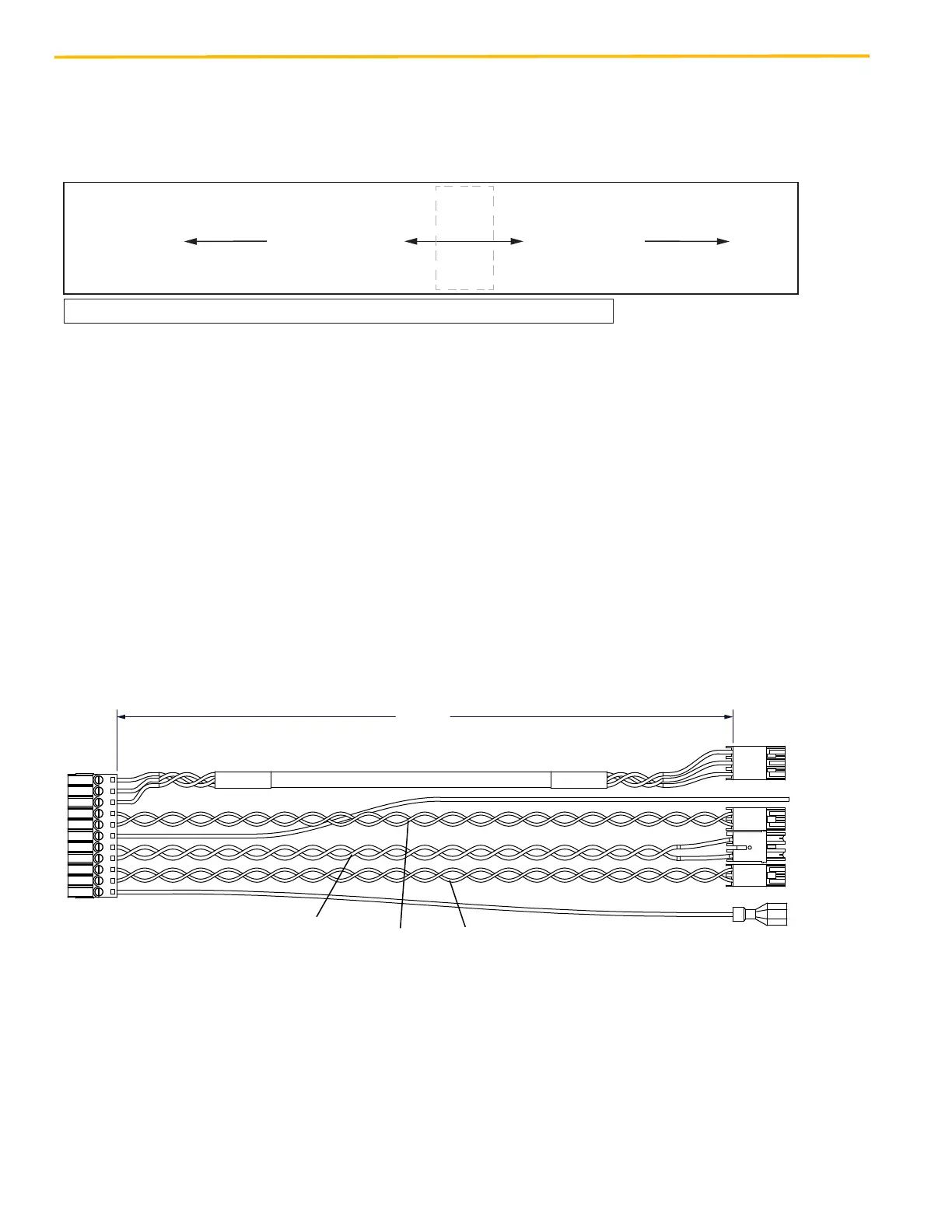
Harness Assembly Diagrams
COP Extension Harness, 462AEN_ starts on page A-14.
COP Adapter Harness, 462AEM_
Door Control
PC Board
COP Extension
462AENx
COP Adapter
462AEMx
CWIx
Board
COP
The 120VAC female plug receptacle powers the GFCI receptacle in the CTS
Installation Overview
210B / 220B
202 / 204
201 / 203
118 / 118A
12"
OPERF / OPERR
PIN 1
PIN 1
PIN 1
PIN 1
PIN 1
FASTON - FEMALE
Gate
Stop
DO PWR
Type: Door Operator
Use: TAC32T
Front: 462AEM001
Rear: 462AEM002

Table of Contents