EasyManua.ls Logo

Videotec DCJ - 3 Linee DI Comunicazione E Collegamenti; Linea Video E Linee Telemetria; RS485 E Tipologie DI Impianto

Videotec DCJ
Print Icon
To Next Page IconTo Next Page
To Next Page IconTo Next Page
To Previous Page IconTo Previous Page
To Previous Page IconTo Previous Page
Loading...
Page 11
MNVADCJ01_1729_IT
3 Linee di comunicazione e collegamenti
3.1 Linea video e linee telemetria
La tastiera DCJ consente di controllare una vasta gamma di prodotti, sia per il controllo del video (matrici video
e multiplexer video) che per il controllo della telemetria (ricevitori o dome). E’ quindi necessario definire a livello
di tastiera la conformazione dell’impianto per consentire un efficiente comunicazione tra i dispositivi connessi.
Con linea video si intende il canale di comunicazione destinato al controllo del dispositivo video; con linee
telemetria si intendono i due canali disponibili per il controllo della telemetria.
Si consiglia di procedere con la configurazione della sola linea video per poi passare, in un secondo tempo, alla
configurazione delle linee telemetria.
3.2 RS485 e tipologie di impianto
I canali di comunicazione RS485 sono linee a 2 fili, la cui lunghezza massima da capo a capo è di 1200m.
La terminazione delle linee RS485 previene la riflessione del segnale lungo il cavo, e deve essere inserita in
ciascuno dei dispositivi che rappresenta un capo del collegamento.
Le tipologie di impianto possono essere varie, e diversa di conseguenza sarà la modalità di terminazione delle
linee.
Negli schemi seguenti i dispositivi che devono essere terminati sono indicati dal simbolo #.
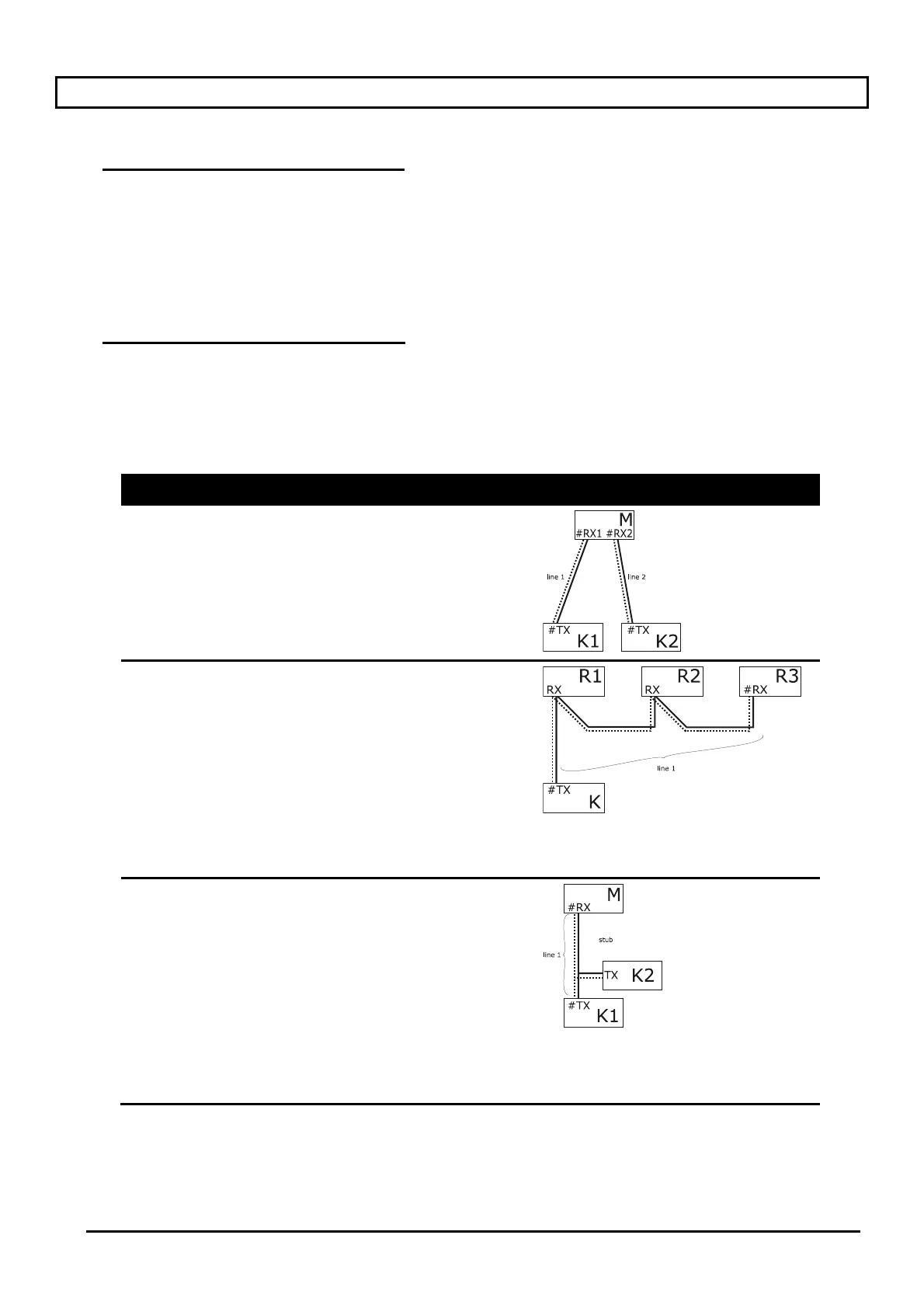
Configurazione Descrizione Esempio
Stella / Linee
singole
Per ogni collegamento tra due
dispositivi è prevista una linea di
comunicazione separata, della
lunghezza massima di 1200m.
Tutti i dispositivi devono essere
terminati, in quanto ogni apparecchio
risulta collegato ad un capo della linea.
Backbone E’ utilizzata un’unica linea, ed i
trasmettitori possono essere posti in
qualsiasi posizione sulla stessa. I due
capi della linea (nell’esempio la tastiera
K ed il ricevitore R3) sono terminati; gli
altri dispositivi (R1 ed R2) non sono
terminati. La lunghezza massima della
linea è di 1200m.
Secondo le specifiche dello standard
RS485 si possono collegare almeno 32
dispositivi sulla stessa linea.
Linea con stub Alla normale linea RS485 possono
essere derivati in parallelo un certo
numero di “stub” per il collegamento di
ulteriori dispositivi. Gli “stub”, non
rappresentando i capi della linea, non
devono essere terminati, e la loro
lunghezza deve essere molto ridotta
(dell’ordine del paio di metri). Secondo
le specifiche dello standard RS485 si
possono collegare almeno 32
dispositivi sulla stessa linea.

Table of Contents