EasyManua.ls Logo

Waters ACQUITY Arc - Page 27

Default Icon
79 pages
Print Icon
To Next Page IconTo Next Page
To Next Page IconTo Next Page
To Previous Page IconTo Previous Page
To Previous Page IconTo Previous Page
Loading...
Drain fitting
Sufficient length of 0.25-inch ID polymer tubing for connecting the drain from the drip tray to
the waste container
Suitable waste container
Requirement: The column compartment must be mounted onto the system stack.
To install the drip tray and waste tubing for a 30-cm CH module:
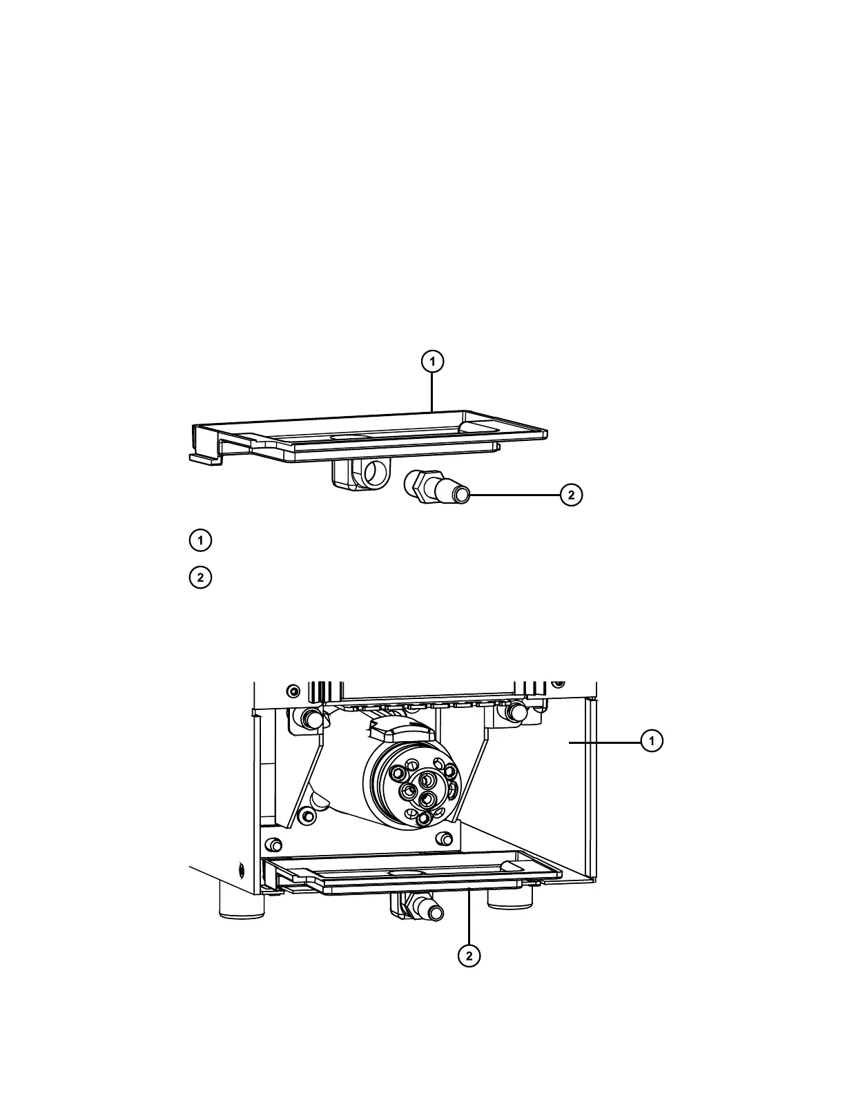
1. If it is not already fitted, thread the barbed, drain fitting into the drip tray's drain opening
and tighten using the 7/16-inch open-end wrench.
Figure 2–7: Drip tray assembly
Drip tray
Barbed fitting
2. Install the drip tray into the compartment base, below the valve (if present), so that the tray
receives gravity-fed drainage from the bottom of the compartment.
Figure 2–8: Drip tray installed in compartment base
December 5, 2017, 715004751 Rev. C
Page 27

Table of Contents

Related product manuals