EasyManua.ls Logo

WEG SSW-05 - Page 82

WEG SSW-05
92 pages
Print Icon
To Next Page IconTo Next Page
To Next Page IconTo Next Page
To Previous Page IconTo Previous Page
To Previous Page IconTo Previous Page
Loading...
Português-86Português-86
PORTUGUÊS
Manual de Instalação e Operação - SSW-05 Plus
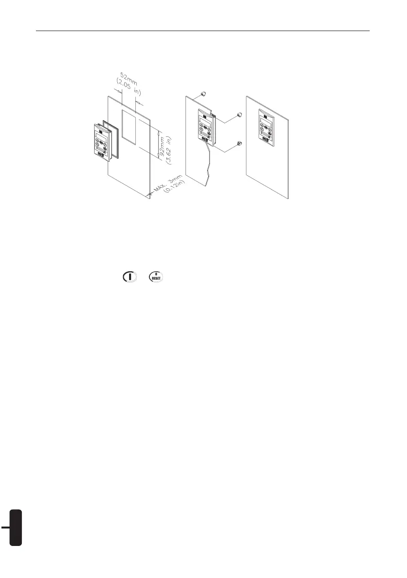
19.3.5. Instalação da HMI-SSW05-RS:
A HMI-SSW05-RS pode ser instalada diretamente na porta do painel (1 a 3mm), conforme os
desenhos a seguir:
Figura 19.5 - Instalação da HMI-SSW05-RS.
19.3.6. Colocação em Funcionamento da HMI-SSW05-RS:
Após tudo instalado (inclusive o cabo de interligação), energize a Soft-Starter.
A HMI-SSW05-RS deverá mostrar “rdy”.
Para habilitar as teclas e da HMI-SSW05-RS, é necessário configurar P264 1.
19.3.7. Função Copy da HMI-SSW05-RS:
A HMI-SSW05-RS apresenta ainda uma função adicional: a função copy. Esta função é utilizada
quando a necessidade de se transferir a programação de uma Soft-Starter para outra(s).
Funciona da seguinte maneira: os parâmetros de uma Soft-Starter (“Soft-Starter origem”) são
copiados para uma memória não volátil da HMI-SSW05-RS, podendo então ser salvos em outra
Soft-Starter (“Soft-Starter destino”) a partir desta HMI. As funções de leitura dos parâmetros da
Soft-Starter e transferência para outra são comandadas pelo conteúdo do parâmetro P215.
Para maiores detalhes da função copy ver descrição detalhada do parâmetro P215.

Table of Contents

Related product manuals