EasyManua.ls Logo

Woodward ProTech TPS - Figure 2-16 C. Example Trip Relay Wiring (Per Module) (Independent Trip Relay) (External Supply); Figure 2-16 D. Example Trip Relay Wiring (Voted Trip Relay Models)

Woodward ProTech TPS
125 pages
Print Icon
To Next Page IconTo Next Page
To Next Page IconTo Next Page
To Previous Page IconTo Previous Page
To Previous Page IconTo Previous Page
Loading...
Manual 26710V1 ProTechTPS Total Protection System
Woodward 45
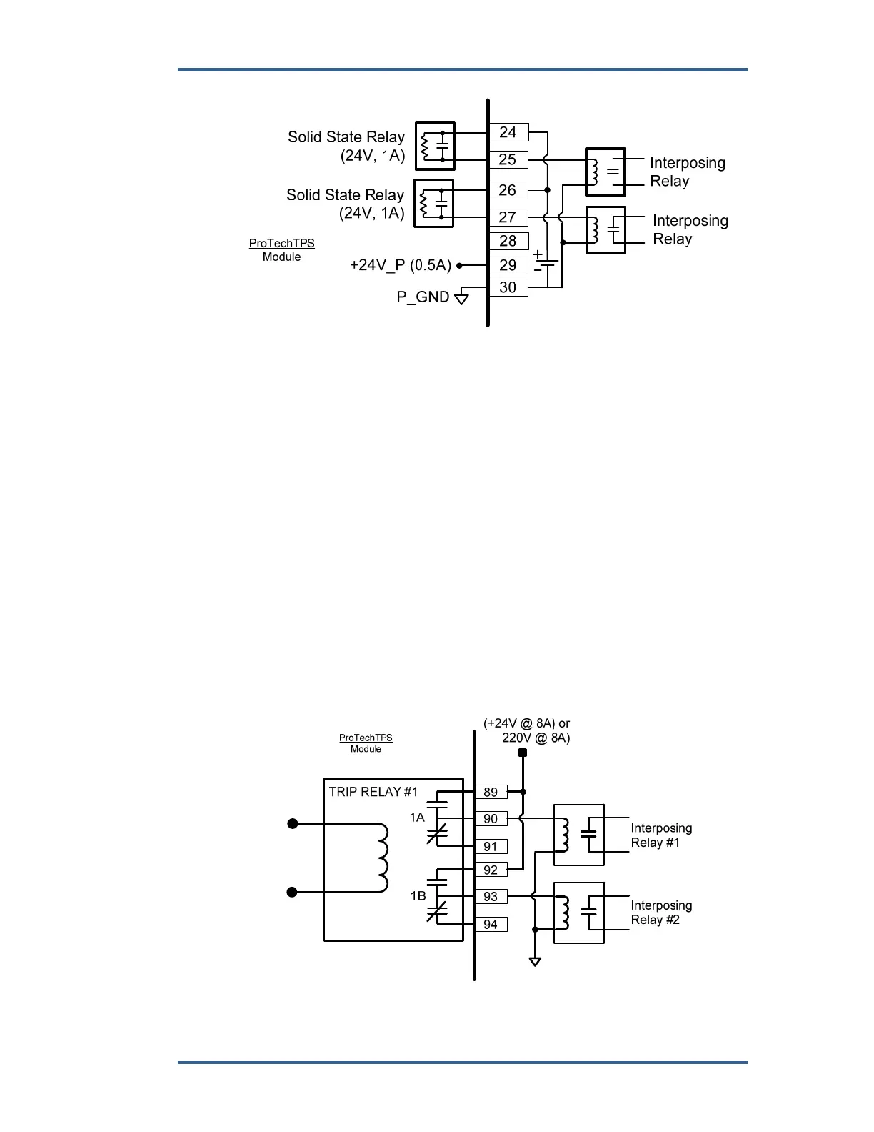
Figure 2-16c. Example Trip Relay Wiring (per Module) (Independent Trip Relay)
(External Supply)
Relay Outputs (Voted Trip Relay)
Each “Voted Trip Relay” ProTechTPS model has three independent modules (A,
B, C), and each of these modules has five solid-state relay outputs. Each of the
five solid-state relays have normally-open type contacts and are rated for 24 Vdc
@ 1 A. Two of these relay outputs are dedicated as redundant trip signal outputs
to drive the ProTech’s 2-out-of-3 voted relay module, and the other three relay
outputs are user-programmable which can be programmed to function
independently as required.
Note that with the “Voted Trip Relay” ProTechTPS models, the two solid-state trip
relays located on each module (A, B, C) are not available for use or connection.
Each module’s trip signal relays are connected internally to the ProTechTPS in a
2-o-o-3 voted fashion to drive two redundant Form-C trip relays on the unit’s 2-
out-of-3 voted relay module. These two redundant relays have normally-open and
normally closed output contacts rated for 220 Vac @ 8 A or 24 Vdc @ 8 A. Refer
to Figure 2-16a for relay terminal location and Figure 2-16d for wiring information.
Figure 2-16d. Example Trip Relay Wiring (Voted Trip Relay Models)

Table of Contents

Related product manuals