EasyManua.ls Logo

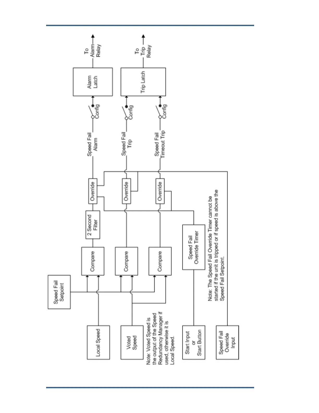
Woodward ProTech TPS - Figure 3-14. Start Logic Diagram

Woodward ProTech TPS
125 pages
Print Icon
To Next Page IconTo Next Page
To Next Page IconTo Next Page
To Previous Page IconTo Previous Page
To Previous Page IconTo Previous Page
Loading...
ProTechTPS Total Protection System Manual 26710V1
72 Woodward
Figure 3-14. Start Logic Diagram

Table of Contents

Related product manuals