EasyManua.ls Logo

Xerox WorkCentre 5222 - PL 23.13 Finisher Eject (5 of 5)

Xerox WorkCentre 5222
1457 pages
To Next Page IconTo Next Page
To Next Page IconTo Next Page
To Previous Page IconTo Previous Page
To Previous Page IconTo Previous Page
Loading...
February, 2008
5-100
WorkCentre 5225, 5230
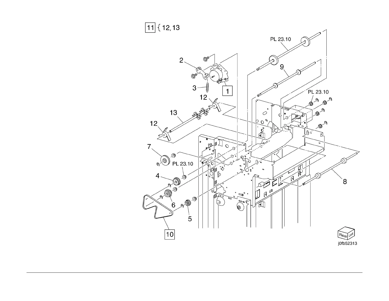
PL 23.13
Launch Version
Parts List
PL 23.13 Finisher Eject (5 of 5)
Item Part Description
1 068K58822 Transport Motor
2 068K58832 Tension Roller Assembly
3 809E78980 Spring
4 020E45340 Pulley (T30)
5 020E45570 Pulley (T41)
6 807E20890 Gear/Pulley (Z27/T30)
7 007K98300 Gear
8 059K55080 Entrance Roller
9 059K55090 Exit Roller
10 Eject Belt (REP 16.2.18)
11 006K86812 Paddle Shaft Assembly
12 033E92850 Cyclone Paddle
13 Paddle Shaft (P/O PL 23.13 Item
11)

Table of Contents

Other manuals for Xerox WorkCentre 5222

Related product manuals