EasyManua.ls Logo

Yamaha M7CL - Input Section

Yamaha M7CL
312 pages
Print Icon
To Next Page IconTo Next Page
To Next Page IconTo Next Page
To Previous Page IconTo Previous Page
To Previous Page IconTo Previous Page
Loading...
M7CL Owner’s Manual
Top panel
18
1
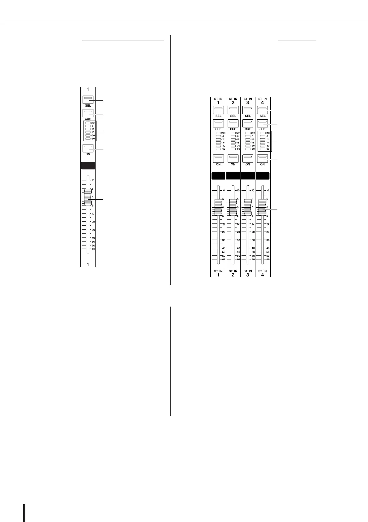
[SEL] key
These keys select the channel to be controlled. When you
press this key to make the LED light, that channel will be
selected for control in the SELECTED CHANNEL sec-
tion and in the touch screen.
In SENDS ON FADER mode, the [SEL] keys of all chan-
nels will light.
B
[CUE] key
These keys select the channel to be cue-monitored. If cue
is on, the LED will light.
C
Meter LEDs
These LEDs indicate the input level of the channel.
D
[ON] key
This switches the channel on/off. If a channel is on, the
key LED will light. In SENDS ON FADER mode, this is
an on/off switch for the signal sent from each channel to
the currently selected MIX/MATRIX bus.
E
Fader
Adjusts the input level of the channel. In SENDS ON
FADER mode, this adjusts the send level of the signal
from each channel to the currently selected MIX/
MATRIX bus.
In this section you can control the main parameters of
monaural input channels 1–32 {1–48}.
In this section you can control the principal parameters for
the stereo ST IN channels 1–4. With the exception that the
object of control will alternate between the L and R chan-
nels each time you press the [SEL] key, these controls
operate in the same way as for the INPUT channels.
INPUT section
1
2
3
4
5
ST IN (Stereo Input) section
1
2
3
4
5

Table of Contents

Other manuals for Yamaha M7CL

Related product manuals