EasyManua.ls Logo

YASKAWA MH180 - Page 50

YASKAWA MH180
108 pages
Print Icon
To Next Page IconTo Next Page
To Next Page IconTo Next Page
To Previous Page IconTo Previous Page
To Previous Page IconTo Previous Page
Loading...
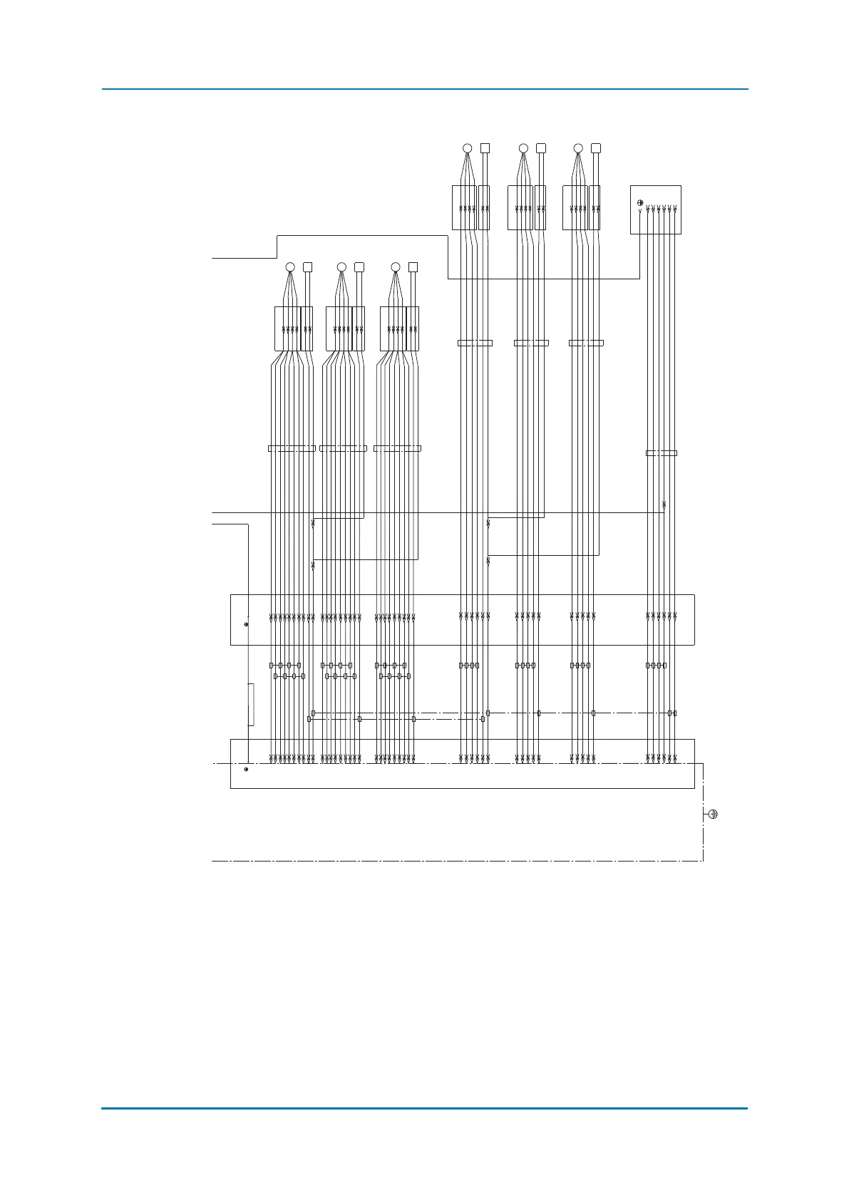
Internal cables and compressed air lines
8 - 50
Fig. 8-3: Connection diagram for internal connections (b)
S-axis
L-axis
R-axis
T-axis
Servo gun
B-3
D-1
D-2
D-4
D-6
D-3
D-5
D-7
D-8
B-10
B-5
B-4
F-3
F-4
E-3
E-4
F-2
F-6
F-1
F-5
F-7
F-8
E-5
E-6
E-1
E-2
E-7
E-8
B-7
B-8
B-12
B-11
B-9
B-2
C-5
C-8
A-5
A-9
A-2
A-11
A-4
C-11
C-9
C-6
A-3
C-2
A-1
C-4
C-7
A-6
BA3
ME3
ME3
MV3
MV3
MW3
MW3
MU3
MU3
BA3
B-3
ME3
ME3
D-1
D-2
MV3
MV3
MW3
MW3
D-4
D-6
D-3
D-5
D-7
D-8
MU3
MU3
BB1
BA1
BA2
ME2
ME2
ME1
ME1
MV2
MV2
MW2
MW2
MU1
MV1
MV1
MW1
MU1
MU2
MU2
MW1
BB1
BA1
BA2
B-10
B-5
B-4
ME2
ME2
ME1
ME1
F-3
F-4
E-3
E-4
MV2
MV2
MW2
MW2
F-2
F-6
F-1
F-5
F-7
F-8
E-5
E-6
E-1
E-2
E-7
SM
YB
YB
SM
SM
YB
-C
No.9CN
9CN-A
-B
MW1
MU1
MV1
-1
-D
-2
BA1
ME1
BB1
E-8
MU1
MV1
MV1
MW1
MU1
MU2
MU2
MW1
10CN-A
No.10CN
MU2
-2
-C
-1
-D
BB2
MW2
BA2
ME2
MV2-B
-C
-B
No.11CN
11C N-A
MW3
MV3
MU3
-2
-1 BA3
BB3
ME3-D
SM
14CN-A
No.14CN
-B
-C
MU6
MW6
MV6
YB
-2
-D
-1
BB6
BA6
ME6
SM
13CN-A
No.13CN
-B
-C
MU5
MW5
MV5
YB
-2
-D
-1
BB5
BA5
ME5
SM
12CN-A
No.12CN
-B
-C
MU4
MW4
MV4
YB
-2
-D
-1
BB4
BA4
ME4
ME6
BB7
BA7
BA6
BA5
BB4
BA4
ME5
ME4
MV7
MU7
ME7
MW7
MW5
MV5
MU5
MU6
MV4
MW6
MW4
MV6
MU4
ME6
BB7
BA7
BA6
BA5
BB4
BA4
B-7
B-8
B-12
B-11
B-9
B-2
ME5
ME4
C-5
C-8
A-5
MV7
MU7
ME7
MW7
A-9
A-2
A-11
A-4
MW5
MV5
MU5
MU6
MV4
MW6
MW4
MV6
C-11
C-9
C-6
A-3
C-2
A-1
C-4
C-7
A-6
MU4
E
MV7
MU7
2
1
No15CN(18-1)
ME7
BA7
BB7
4
6
5
3
MW7
E
E
2BC
2BC(8PX3+12PX3)
PE
U-axis
B-axis

Table of Contents

Related product manuals