EasyManua.ls Logo

YOKOGAWA UT550 - Page 48

YOKOGAWA UT550
108 pages
Print Icon
To Next Page IconTo Next Page
To Next Page IconTo Next Page
To Previous Page IconTo Previous Page
To Previous Page IconTo Previous Page
Loading...
3-4
<Toc> < 3. Operations >
IM 05D01C02-41E 3rd Edition: May 31, 2006-00
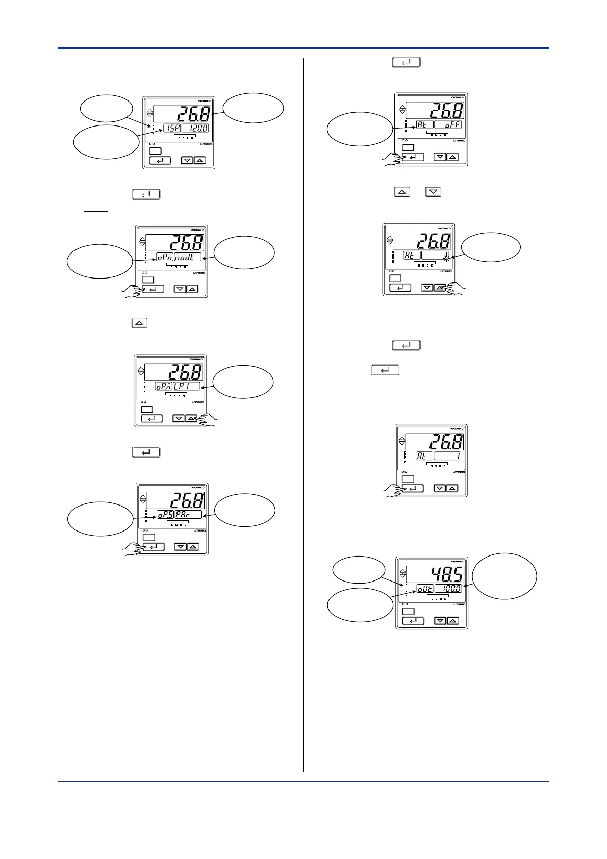
1. Bring the operating display into view
(display appears at power on).
SET/ENT
A/M
PV
AL1 2 3 4
REM
CAS
MAN
LP2
Displays PV.
Displays
target setpoint-1
1.SP.
MAN lamp
OFF.
2. Press the
SET/ENT
key for more than 3 sec-
onds to call up the main menu MODE.
SET/ENT
A/M
PV
AL1 2 3 4
REM
CAS
MAN
LP2
Displays
main menu
MODE.
Displays symbol
OP.M.
3. Press the key once to display the main
menu LP1.
SET/ENT
A/M
PV
AL1 2 3 4
REM
CAS
MAN
LP2
Displays
main menu
LP1.
4. Press the
SET/ENT
key once to display the
submenu PAR.
SET/ENT
A/M
PV
AL1 2 3 4
REM
CAS
MAN
LP2
Displays
submenu
PAR .
Displays symbol
OP.S.
5. Press the
SET/ENT
key once again to display
the parameter AT.
SET/ENT
A/M
PV
AL1 2 3 4
REM
CAS
MAN
LP2
Displays
parameter
AT.
6. Press the or key to display the
required setpoint. Tuning for 1.SP is AT = 1.
SET/ENT
A/M
PV
AL1 2 3 4
REM
CAS
MAN
LP2
Blinks during
change.
To cancel auto-tuning, set AT = OFF.
7. Press the
SET/ENT
key once to register the
setpoint. (This starts auto-tuning.)
If the
SET/ENT
key is pressed when AT = OFF,
auto-tuning will be cancelled. In this case,
PID contains the value existing before
auto-tuning.
SET/ENT
A/M
PV
AL1 2 3 4
REM
CAS
MAN
LP2
8. During auto-tuning, the panel indications
become as shown below.
SET/ENT
A/M
PV
AL1 2 3 4
REM
CAS
MAN
LP2
Displays
output values
100.0% and 0.0%
alternately.
Displays symbol
OUT.
MAN lamp
blinks.
Auto-tuning is complete when the MAN
lamp goes off.

Table of Contents

Related product manuals