EasyManua.ls Logo

YOKOGAWA UT550 - Setting Control Output Type (Except for a Position Proportional Controller)

YOKOGAWA UT550
108 pages
Print Icon
To Next Page IconTo Next Page
To Next Page IconTo Next Page
To Previous Page IconTo Previous Page
To Previous Page IconTo Previous Page
Loading...
<Toc> < 2. Initial Settings >
2-9
IM 05D01C02-41E 3rd Edition: May 31, 2006-00
2.4 Setting Control Output Type
(except for a Position Proportional Controller)
The following operating procedure describes an example of changing time proportional PID
relay output (0: factory-shipped value) to current output (2).
Control output terminal
For details on the output terminals for heating/cooling control, see
.
Values in parentheses are setpoints
Time proportional PID relay (0)/on-off(3) output
...........................
Current (2)/time proportional PID voltage pulse (1) output
.............
--
1 2 3
-
16
17
1.5
Terminal Wiring Diagrams
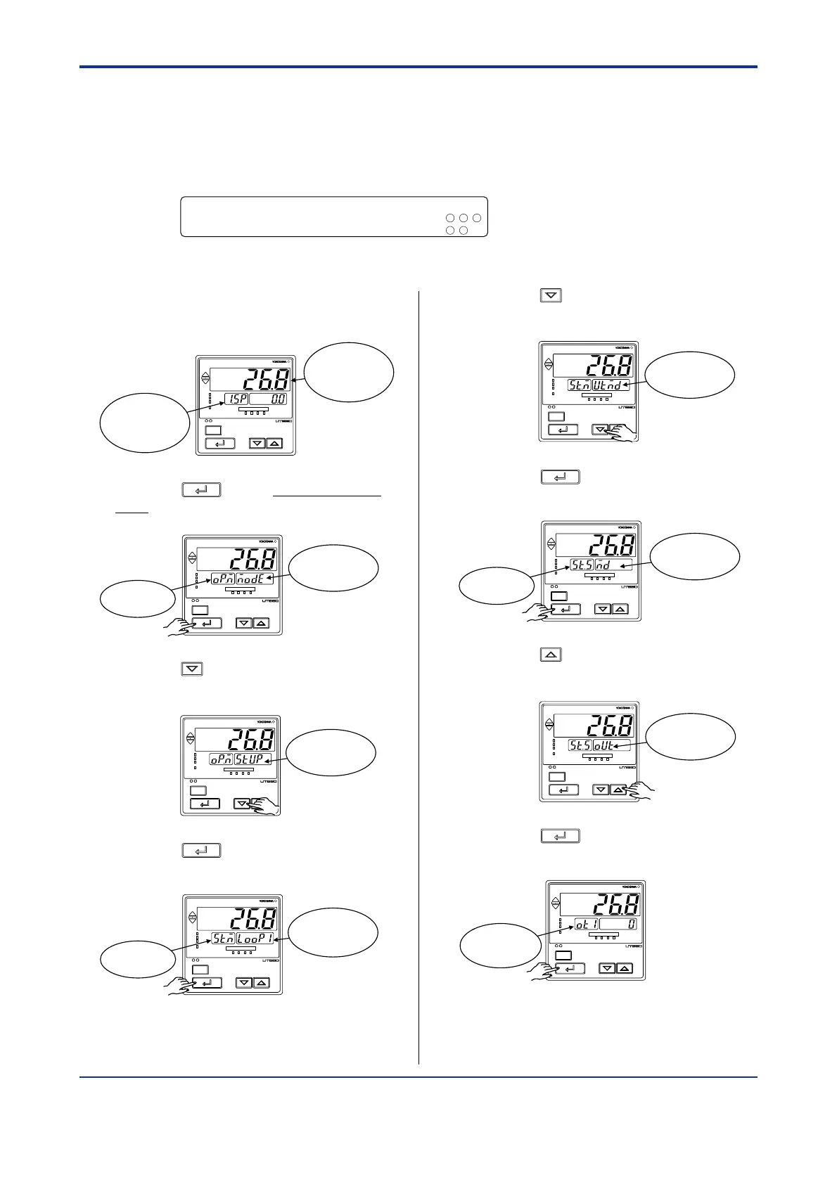
1. Bring the operating display into view
(display appears at power-on).
SET/ENT
A/M
PV
AL1 2 3 4
REM
CAS
MAN
LP2
Displays
target setpoint-1
1.SP.
Displays PV
2. Press the
SET/ENT
key for more than 3 sec-
onds to call up the main menu MODE.
SET/ENT
A/M
PV
AL1 2 3 4
REM
CAS
MAN
LP2
Displays main
menu MODE.
Displays
symbol OP.M.
3. Press the key once to display the main
menu STUP.
SET/ENT
A/M
PV
AL1 2 3 4
REM
CAS
MAN
LP2
Displays main
menu STUP.
4. Press the
SET/ENT
key once to display the
main menu LOOP1.
SET/ENT
A/M
PV
AL1 2 3 4
REM
CAS
MAN
LP2
Displays main
menu LOOP1.
Displays
symbol ST.M.
5. Press the key once to display the main
menu UTMD.
SET/ENT
A/M
PV
AL1 2 3 4
REM
CAS
MAN
LP2
Displays main
menu UTMD.
6. Press the
SET/ENT
key once to display the
submenu MD.
SET/ENT
A/M
PV
AL1 2 3 4
REM
CAS
MAN
LP2
Displays
submenu MD.
Displays
symbol ST.S.
7. Press the key twice to display the
submenu OUT.
SET/ENT
A/M
PV
AL1 2 3 4
REM
CAS
MAN
LP2
Displays
submenu
OUT.
8. Press the
SET/ENT
key once to display the
parameter OT1 (control output type).
SET/ENT
A/M
PV
AL1 2 3 4
REM
CAS
MAN
LP2
Displays
parameter
OT1.

Table of Contents

Related product manuals