EasyManua.ls Logo

YOKOGAWA YTA Series - Parts List for Connectors

YOKOGAWA YTA Series
61 pages
To Next Page IconTo Next Page
To Next Page IconTo Next Page
To Previous Page IconTo Previous Page
To Previous Page IconTo Previous Page
Loading...
IM 01C50C05-01EN
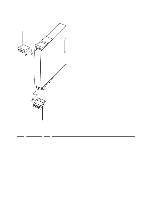
Parts List for Connectors
11
12
13
14
1
2
11
12
13
14
Item Part No. Qty Description
1 F9168CA 1 Connector for Power supply (For general use type)
F9168CB Connector for Power supply (For intrinsically safe type)
2 F9168CC 1 Connector for T/C input (For general use type)
F9168CD Connector for RTD, Ohm, mV input (For general use type)
F9168CE Connector for T/C input (For intrinsically safe type)
F9168CF Connector for RTD, Ohm, mV input (For intrinsically safe type)

Related product manuals