EasyManua.ls Logo

Zip HydroTap BCS160 - Section 6 - Underbench Unit Installation; Check the External Bypass Valve Setting; Mains Water Supply Hose

Zip HydroTap BCS160
40 pages
Print Icon
To Next Page IconTo Next Page
To Next Page IconTo Next Page
To Previous Page IconTo Previous Page
To Previous Page IconTo Previous Page
Loading...
Page 28 of 40 801910 - Zip Sparkling HydroTap - Installation Instructions - July 2014 - v1.00
If an external filter is installed, select position B
B
Rotate 90°
only
1
2
3
4
Check to determine
which filter bypass
position you need
for your product.
Note:
Before you install a unit, determine whether a water softener or an external filter is required.
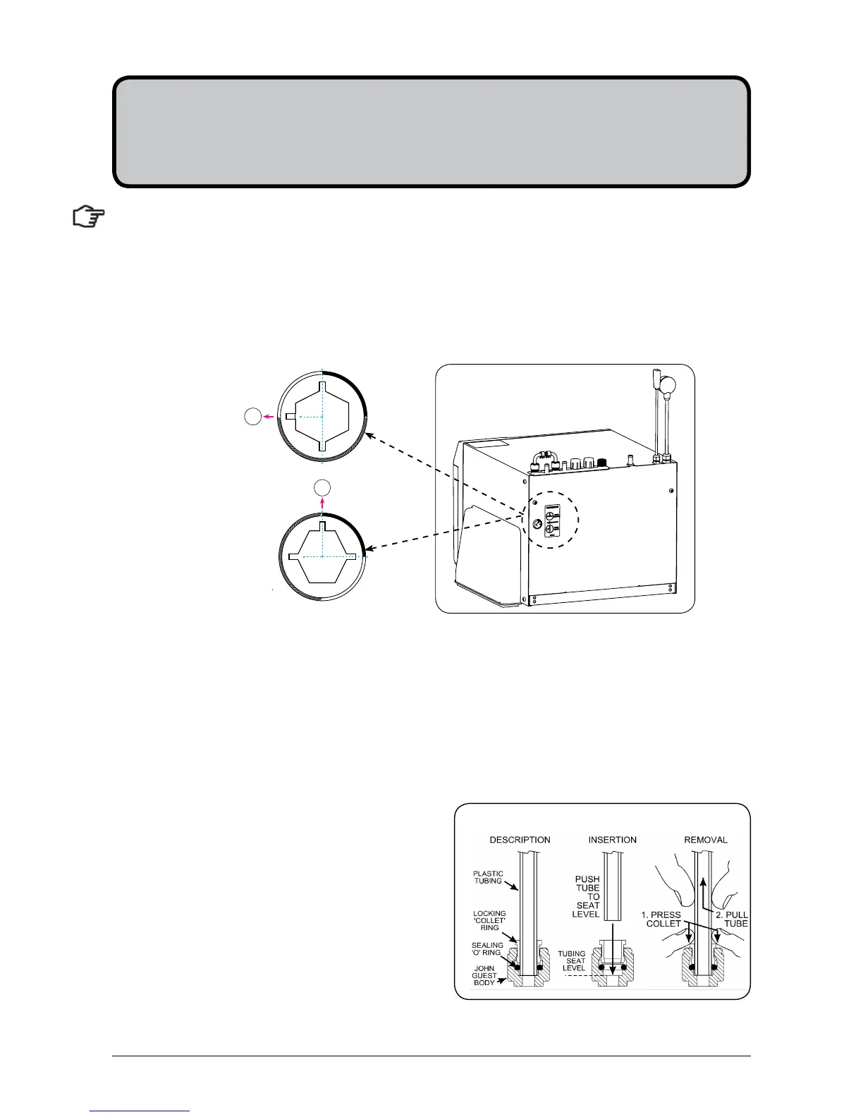
6.1 External Bypass Valve
The diverter bypass valve allows the user to choose to have the boiling feed water bypass the internal filter
and only be filtered by the external filtration. This diverter valve is located at the rear panel of the Zip HydroTap
underbench unit on the filter door side, see the image below.
6.2 Hose and tube fitting
Remove all caps from the top of the undersink unit
Fit the foam insulation to the Blue and to the White tubes after trimming them to length
Install the mains water braided hoses to the undersink unit before locating the unit in place.
Section 6
Underbench Unit Installation
If no external fi lter is installed, select position A
A
Rotate 90°
only
1
2
3
4
John Guest fittings (Insertion and removal)
Be careful when cutting the poly tube so that there are no rough edges and that the tube is not distorted.
1.
Use a sharp knife to ensure the tube has a clean,
straight edge. Do not cut at an angle.
2.
Remove any swarf or unwanted material.
3.
Push the tube into the John Guest fitting making
sure all connections to the John Guest fittings are
pushed in past the “O”ring to full depth, at least
15-16mm.
4.
Check for a good joint by pulling back on the tube.
If the tube comes out, of the fitting, repeat the
above step.
5.
To remove the tube, press the collet into the fitting and at the same time pull back on the tube.

Related product manuals