EasyManua.ls Logo

3M MS2 - Bridged Feeder Splice; Multiplied Straight Splice S

3M MS2
46 pages
Print Icon
To Next Page IconTo Next Page
To Next Page IconTo Next Page
To Previous Page IconTo Previous Page
To Previous Page IconTo Previous Page
Loading...
45
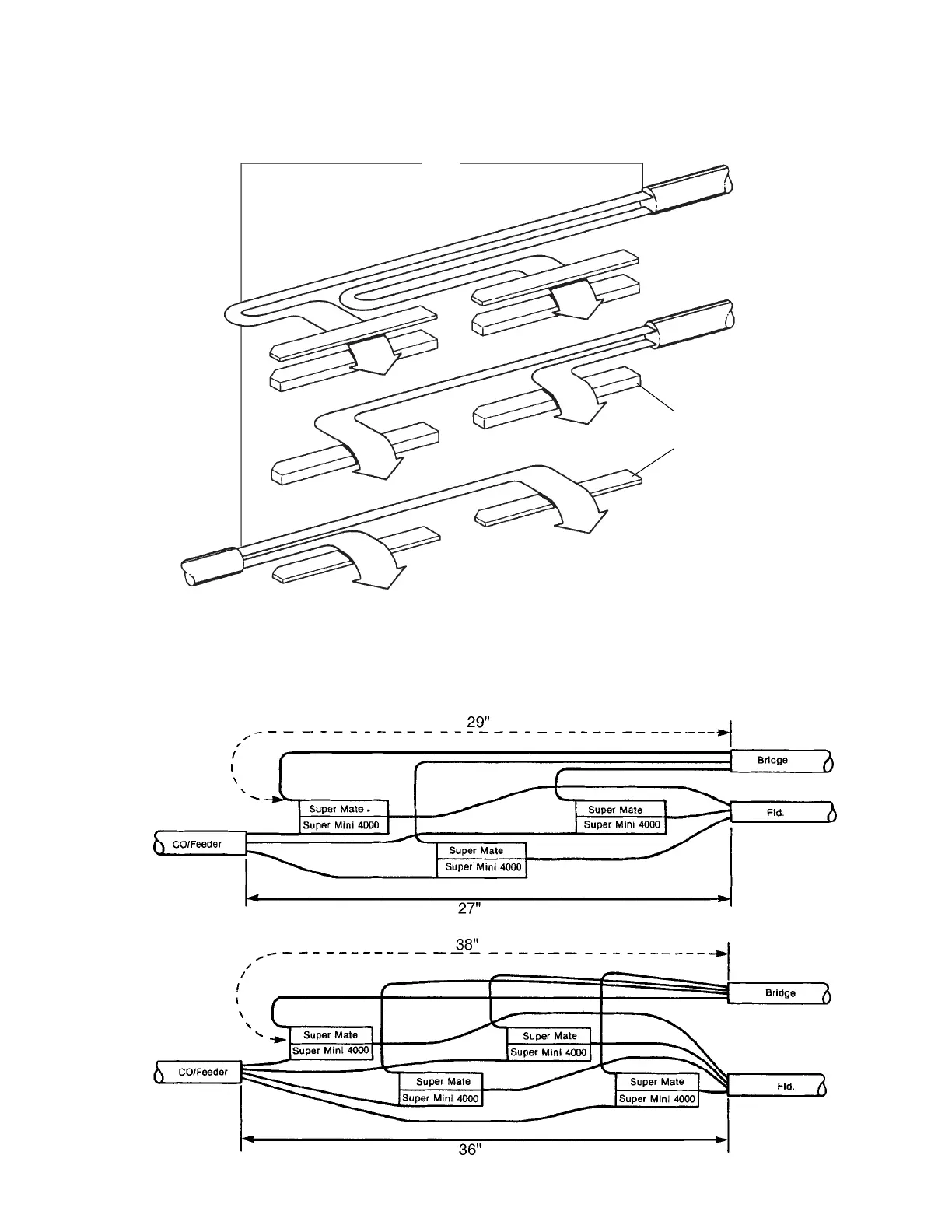
8.14 Bridged Feeder Splice / Multiplied Straight Splice "S"
This splice connects cables that run continuously from the beginning to the end of the main feeder area
with the cable count multiplied at specific locations where bridged tap is not a concern.
Note: The Inline Splice Method is recommended
because this splice should be treated only as
a through connection for the main cable and
an access point for multiplied cable.
Unilength Splice Method,
Spice Opening plus 2" (50 mm)
Inline Splice
Method
Inline Splice
Method
FIELD
BRIDGE
C.O.
Body
Base
}
Super-Mini
Body
}
Super-Mate
4005-DPM
Cover
19"
48.3 cm
2 Bank
4 Bank
843057
843070

Related product manuals