EasyManua.ls Logo

Acer AOD270 - LCD Failure

Acer AOD270
405 pages
Print Icon
To Next Page IconTo Next Page
To Next Page IconTo Next Page
To Previous Page IconTo Previous Page
To Previous Page IconTo Previous Page
Loading...
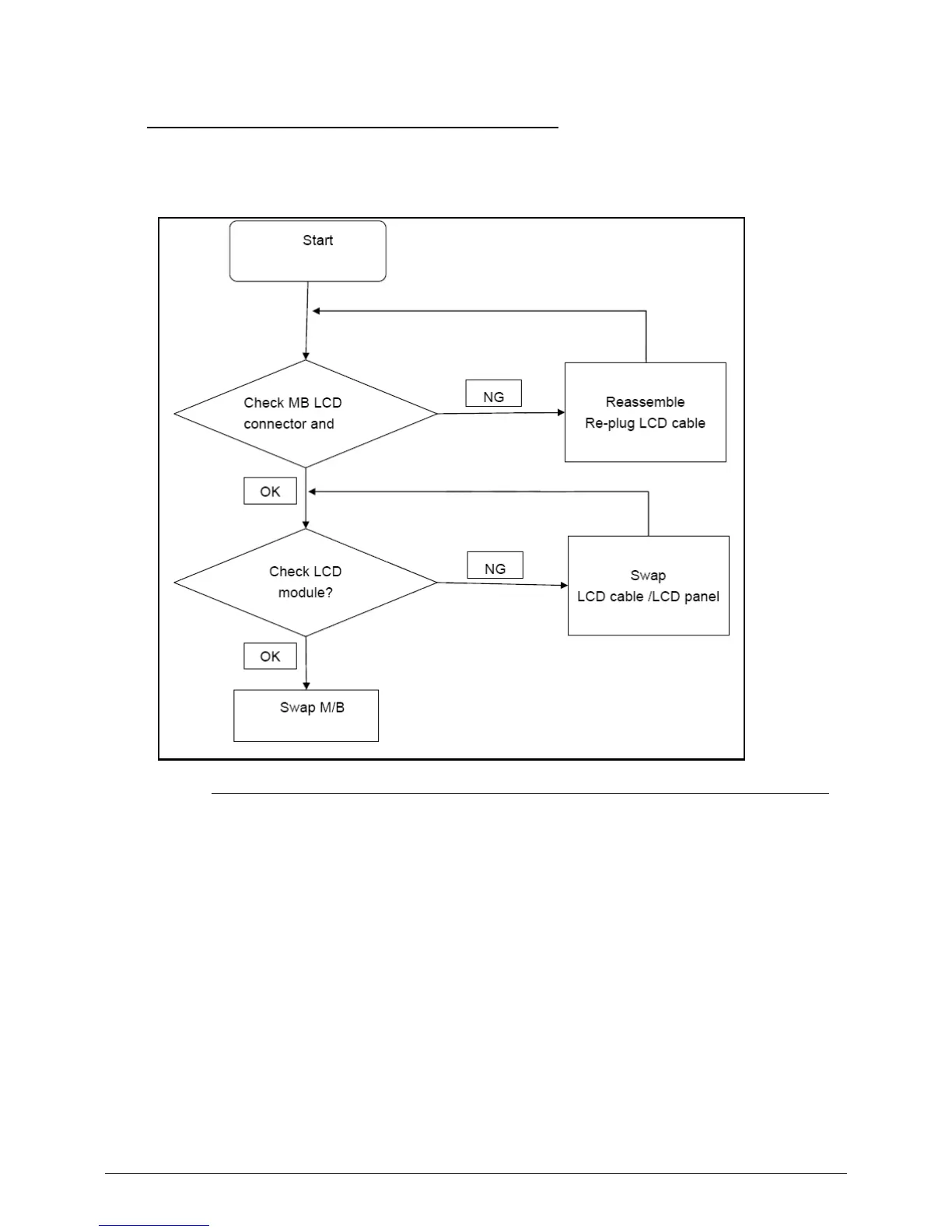
4-8 Troubleshooting
LCD Failure 0
If the LCD fails, perform the following:
Figure 4-3. LCD Failure

Table of Contents

Related product manuals