EasyManua.ls Logo

Acer AOD270 - Internal Speaker Failure

Acer AOD270
405 pages
Print Icon
To Next Page IconTo Next Page
To Next Page IconTo Next Page
To Previous Page IconTo Previous Page
To Previous Page IconTo Previous Page
Loading...
Troubleshooting 4-11
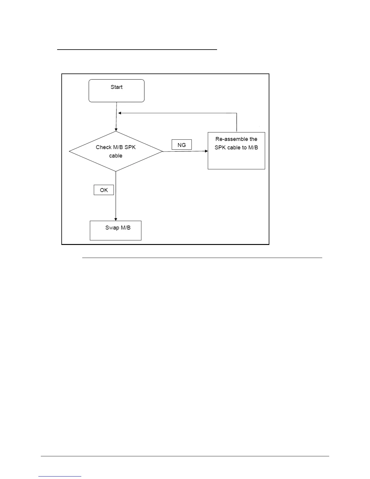
Internal Speaker Failure 0
If internal Speakers fail, perform the following:
Figure 4-6. Internal Speaker Failure
Sound Problems 0
Perform the following, one at a time.
1. Boot the computer.
2. Navigate to
Start
Control Panel
System and Maintenance
System
Device
Manager
. Check the Device Manager to determine that:
The device is properly installed
There are no red Xs or yellow exclamation marks
There are no device conflicts
No hardware is listed under Other Devices
3. If updated recently, roll back the audio driver to the previous version.
4. Remove and reinstall the audio driver.
5. Make sure that all volume controls are set mid range:
Click the volume icon on the taskbar
Drag the slider to 50. Confirm that the volume is not muted.
Click Mixer to verify that other audio applications are set to 50 and not muted.
6. Navigate to
Start
Control Panel
Hardware and Sound
Sound
. Confirm that

Table of Contents

Related product manuals